全部版块 我的主页
论坛 经济学人 二区 学术道德监督
12034 114
2013-08-05
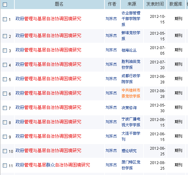
在“知网”检索文献,发现一稿11连发的奇葩,知网截图供大家欣赏
1稿11发的奇葩.png
二维码

扫码加我 拉你入群

请注明:姓名-公司-职位

以便审核进群资格,未注明则拒绝

全部回复
2013-8-5 09:31:29
偶像啊,崇拜
二维码

扫码加我 拉你入群

请注明:姓名-公司-职位

以便审核进群资格,未注明则拒绝

2013-8-5 09:33:58
下载了其中一篇看了看,奇葩的作者是刘东杰(1982-),男,中共淮安市委党校
二维码

扫码加我 拉你入群

请注明:姓名-公司-职位

以便审核进群资格,未注明则拒绝

2013-8-5 09:39:00
无话可说
二维码

扫码加我 拉你入群

请注明:姓名-公司-职位

以便审核进群资格,未注明则拒绝

2013-8-5 09:46:27
开眼界了
二维码

扫码加我 拉你入群

请注明:姓名-公司-职位

以便审核进群资格,未注明则拒绝

2013-8-5 11:10:51
党在乎统治,不在乎学术.
所以这位党校老师可以对学术规则无知
二维码

扫码加我 拉你入群

请注明:姓名-公司-职位

以便审核进群资格,未注明则拒绝

点击查看更多内容…
栏目导航
热门文章
推荐文章

说点什么

分享

加微信,拉你入群
微信外可尝试点击本链接进入