经管之家App
让优质教育人人可得
立即打开
全部版块
我的主页
›
论坛
›
经济学人 二区
›
学术道德监督
2025年《科技管理研究》投稿录用经验分享
楼主
xiaoaman
5401
10
收藏
2025-08-15
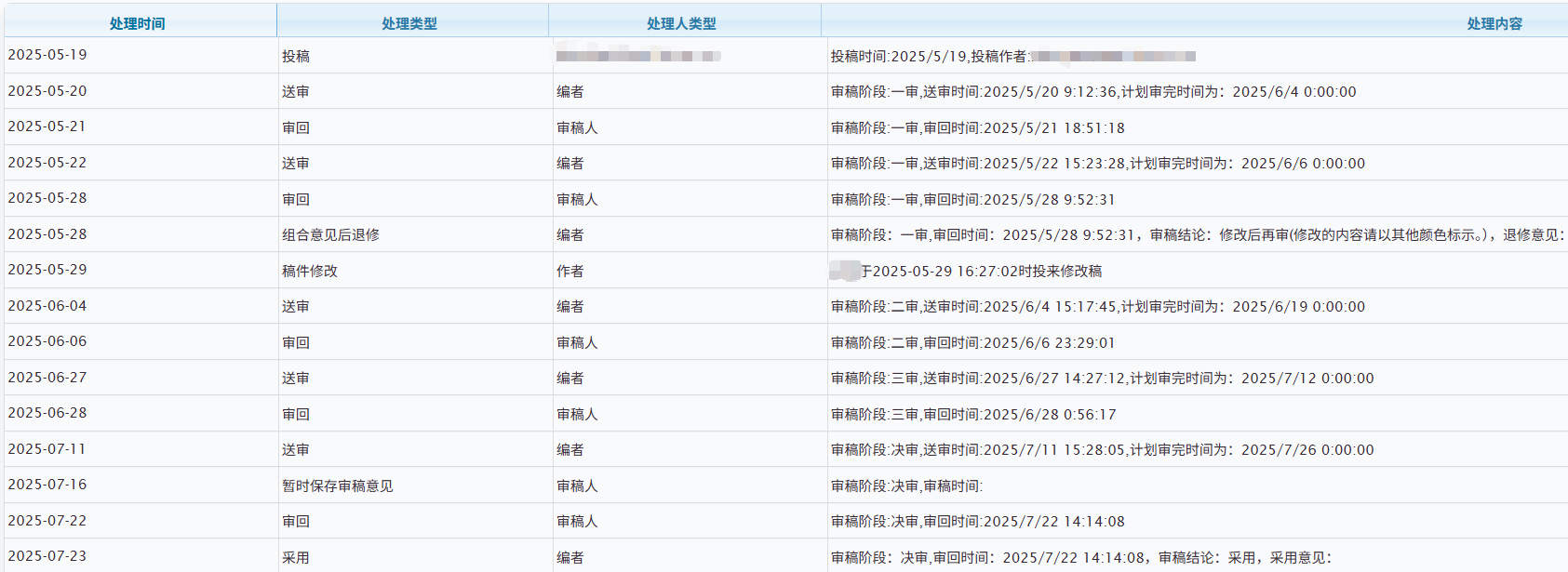
2025年5月中旬在《科技管理研究》期刊投稿了一篇论文,7月底收到了录用通知,以下是审稿流程,供大家参考。审稿流程包括一审、二审、三审和决审。建议大家在投稿前一定要按照编辑部的投稿要求修改稿件格式。
扫码加我 拉你入群
请注明:姓名-公司-职位
以便审核进群资格,未注明则拒绝
全部回复
沙发
榴莲芒果
2025-8-15 13:57:17
感谢楼主分享,希望各位有经验的小伙伴们可以关注公众号:期刊摆渡,多多分享有益的投稿经验,互帮互助。
扫码加我 拉你入群
请注明:姓名-公司-职位
以便审核进群资格,未注明则拒绝
藤椅
皮影戏077
2025-8-15 14:57:45
恭喜楼主!
扫码加我 拉你入群
请注明:姓名-公司-职位
以便审核进群资格,未注明则拒绝
板凳
yiyijiayuan
2025-8-16 06:28:49
简单路过。
扫码加我 拉你入群
请注明:姓名-公司-职位
以便审核进群资格,未注明则拒绝
报纸
cre8
2025-8-16 10:37:41
点赞分享!
扫码加我 拉你入群
请注明:姓名-公司-职位
以便审核进群资格,未注明则拒绝
地板
babylaugh
2025-8-16 11:03:20
点赞分享
扫码加我 拉你入群
请注明:姓名-公司-职位
以便审核进群资格,未注明则拒绝
点击查看更多内容…
7楼
枫回路转
2025-8-16 15:16:47
要不要版面费
扫码加我 拉你入群
请注明:姓名-公司-职位
以便审核进群资格,未注明则拒绝
8楼
xiaoaman
2025-8-18 14:13:41
枫回路转 发表于 2025-8-16 15:16
要不要版面费
要版面费的
扫码加我 拉你入群
请注明:姓名-公司-职位
以便审核进群资格,未注明则拒绝
9楼
xiaoaman
2025-8-18 14:14:00
皮影戏077 发表于 2025-8-15 14:57
恭喜楼主!
谢谢您!
扫码加我 拉你入群
请注明:姓名-公司-职位
以便审核进群资格,未注明则拒绝
10楼
鱼儿的幸福
2025-12-19 16:52:53
楼主,为什么我看不到你这种审稿流程撒?
扫码加我 拉你入群
请注明:姓名-公司-职位
以便审核进群资格,未注明则拒绝
11楼
榴莲芒果
2025-12-22 08:41:12
感谢分享 很有意义
扫码加我 拉你入群
请注明:姓名-公司-职位
以便审核进群资格,未注明则拒绝
相关推荐
科技管理研究网投讨论
科技管理研究--终审超期一周
科技管理研究目前流程(三审直接录用,排期已定)
现在投《科技管理研究》更要小心了!
科技管理研究录用流程供大家参考
科技管理研究 我二审审了两次,有哪位大神知道这是什么情况
科技管理研究 录用
《科技管理研究》一审审稿人回复退稿,但是编辑让我修改,好困惑!
科技管理研究两次终审
《经济与管理研究》投稿经验分享(2018年)
栏目导航
学术道德监督
外文文献专区
经管高考
博弈论
经管文库(原现金交易版)
金融实务版
热门文章
《那年2003:我双手插兜,搞钱不知什么叫对 ...
国家新纪元:人工智能时代的力量与优势
大势与抉择:关键趋势20讲(马江博)
CDA数据分析脱产就业班于2026年3月7日开班! ...
参数估计:CDA数据分析师的核心推断工具,用 ...
通用指标与场景指标:CDA数据分析师的核心分 ...
GeoSaaS永久会员版
全国国土利用现状、耕地、园地、林地分布等 ...
2024年合集 ESG评级数据大全(彭博 华证 Wi ...
脑机接口行业系列报告:Neuralink带来的启示 ...
推荐文章
《科技管理研究》投稿经验及教训分享
《经济与管理研究》投稿经验分享(2018年)
2026JG学术冬训营:从Stata初高到Python机器 ...
【必看】【本版版规,欢迎发悬赏贴求助】
【新课】26年3月|Gemini辅助论文写作与数据 ...
说点什么
分享
微信
QQ空间
QQ
微博
加微信,拉你入群
微信外可尝试点击本链接进入