全部版块 我的主页
论坛 提问 悬赏 求职 新闻 读书 功能一区 经管文库(原现金交易版)
114 0
2025-09-17
上市公司内部缺陷数据2007-2023年


01、数据介绍


上市公司内部缺陷包括信息披露违规、财务数据造假等,参考胡国柳等人文献,Y为被解释变量,采用二元变量ICD和有序分类变量ICD_type双重维度进行衡量。具体赋值规则如下:


ICD变量当上市公司当年存在任何内部控制缺陷时取值为1,无缺陷时取值为0;


ICDTYPE变量:0级:无内部控制缺陷,1级:存在一般性内部控制缺陷,2级:存在重要内部控制缺陷,3级:存在重大内部控制缺陷,该编码体系完整覆盖企业内部控制缺陷的四种严重程度等级


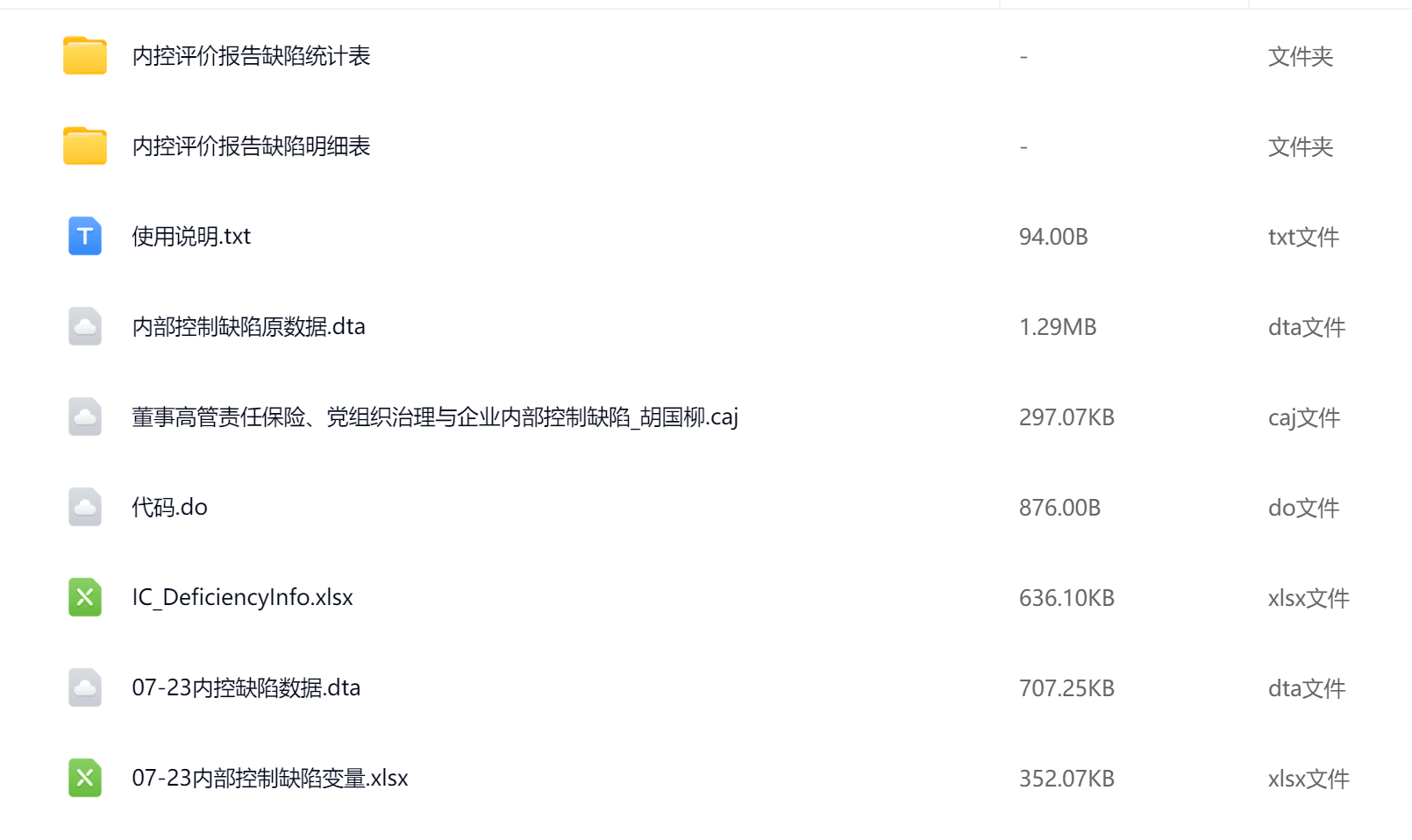
文件包含原始数据,数据处理代码do文档,最终结果,参考文献


02、数据指标及参考文献


股票代码、年度、DeficiencyType1、DeficiencyType2、DeficiencyType3、ICD、ICD_type


[1]胡国柳,常启国.董事高管责任保险、党组织治理与企业内部控制缺陷[J].中国软科学,2022,(05):98-111.




附件列表
2.png

原图尺寸 137.14 KB

2.png

1.png

原图尺寸 262.73 KB

1.png

上市公司内部缺陷数据2007-2023年

大小:85 Bytes

只需: RMB 10 元  马上下载

二维码

扫码加我 拉你入群

请注明:姓名-公司-职位

以便审核进群资格,未注明则拒绝

相关推荐
栏目导航
热门文章
推荐文章

说点什么

分享

扫码加好友,拉您进群
各岗位、行业、专业交流群