来源 | 开甲财经
近日,据多家媒体报道,互联网物流服务企业货拉拉即将完成F轮15亿美元融资,本轮由老股东红杉资本中国基金和高瓴资本领投,博裕资本、老虎基金、Vitruvian维恩资本、D1Capital等机构跟投。
报道称,本轮融资共分三笔进行,前两笔规模为13亿美元已经完成;第三笔2亿美元融资正在进行;本轮跟投方博裕、老虎、Vitruvian维恩资本等每家投资额为1亿美元。次轮融资后,货拉拉最新估值达100亿美元(约合648亿人民币)。
据彭博社2020年12月消息,货拉拉正在寻求新一轮融资,估值为80亿美元,希望至少筹集5亿美元,也可能会根据投资者需求筹集更多资金。新一轮融资的审议还处于初步阶段,因此细节仍有可能改变。
这样看来,货拉拉F轮融资规模比预估增加了10亿美元,其整体估值同步增加了20亿美元。
开甲财经注意到,虽然货拉拉的投资方给其估值100亿美元,但在2020年8月,胡润研究院发布的《苏州高新区·2020胡润全球独角兽榜》显示,货拉拉估值仅为70亿人民币(约合11亿美元)。据此计算,过去半年之内,货拉拉估值涨了近8倍。
进军公路物流遭遇强敌满帮集团
事实上,不止货拉拉的估值在飙升,其最大竞争对手满帮集团也是如此。
根据媒体2020年11月报道,满帮集团对外宣布,已完成新一轮17亿美元融资,由软银愿景基金、红杉资本、富达国际和Permira领投,马云的云峰基金、高瓴资本、GGV、Lightspeed、All-Stars Investment与Baillie Gifford跟投。
该公司未透露此轮融资对其的估值,但根据知情人士透露,次轮融资的投资者对满帮集团的估值在120亿美元左右。然而,根据胡润研究院发布的2020胡润独角兽榜显示,满帮集团估值为400亿人民币(约合62亿美元)。
货拉拉官网披露,截至2020年9月,货拉拉业务范围已覆盖352座中国大陆城市,港台及海外21座城市,全平台(中国及海外)月活司机48万,月活用户达720万。据媒体最新报道,目前满帮集团平台服务的认证驾驶员用户900万人,认证货主用户400万人,集团业务覆盖全国339个主要城市。
对比发现,满帮集团司机用户超货拉拉,但货拉拉活跃用户超满帮集团。之所以如此,主要因为两家平台主营业务方向不同。在此之前,满帮集团主要提供公路物流服务,而货拉拉主要提供同城货运和搬家服务。不过,随着双方先后完成新一轮融资,满帮集团宣布进入同城货运市场,而货拉拉业务则向国内物流和国际物流延伸。
据媒体报道,满帮集团和货拉拉都将在今年下半年IPO,其中货拉拉目标估值300亿美元。
同城货运业务面临滴滴货运竞争
对货拉拉而言,融资和上市或都是为进一步巩固市场地位,因为在同城货运和搬家服务领域,快狗打车和滴滴货运都将与激烈竞争。

与货拉拉相比,快狗打车(原58速运)虽然上线时间晚了近一年,但背靠58同城和天鹅到家(原58到家)两大流量巨头,快狗打车原本有望超越货拉拉。然而,58同城的基因似乎从来都是追求大而全,而这给了货拉拉做大做强的机会。不过,快狗打车并未认输,这对货拉拉来说始终是个威胁。
而在国内物流业务上,货拉拉除直接与满帮集团竞争,还要与福佑卡车等互联网物流企业竞争。百科资料显示,福佑卡车合作司机超70万人,服务的货主企业超10万家,其中包括顺丰速运、京东物流、德邦快递、韵达快递等,业务覆盖覆盖全国31省市,337个大中城市。
此外,滴滴货运虽然上线时间只有半年时间,但背靠滴滴出行7895.1万月活用户,无论在品牌还是流量层面都有巨大优势。截至发稿前,媒体报道,滴滴货运已完成首轮15亿美元融资协议签署工作,领投方为淡马锡、CPE、IDG资本等。
快速扩张同时服务水平有待提升
开甲财经注意到,货拉拉业务在快速扩张的同时,服务质量却并未同步跟上。多位网友在黑猫投诉发帖反馈,其通过货拉拉平台运输的物品中途损坏,联系货拉拉平台却得不到理赔。

在此之前,2020年5月5日,有市民反映自己使用货拉拉平台叫车搬家,不足2公里的路程对方要求支付人工搬运费5000元。货拉拉相关工作人员5月6日回应称,经核查该司机存在坐地起价的问题,平台已经将其永久封号。
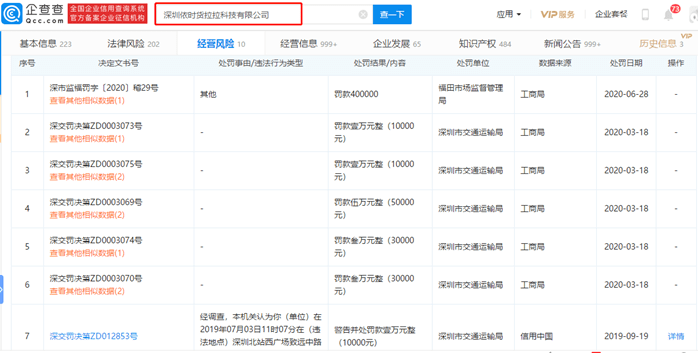
被网友投诉的同时,货拉拉也多次遭遇行政处罚。企查查数据显示,货拉拉自2019年以来先后7次被处罚,合计被罚款54万元。

其中,2020年6月28日,深圳市市场监督管理局福田局对货拉拉罚款40万元,处罚依据为,货拉拉平台违反电子商务法相关规定,包括修改交易规则未在首页显著位置公开征求意见,未按照规定的时间提前公示修改内容,或者阻止平台内经营者退出。