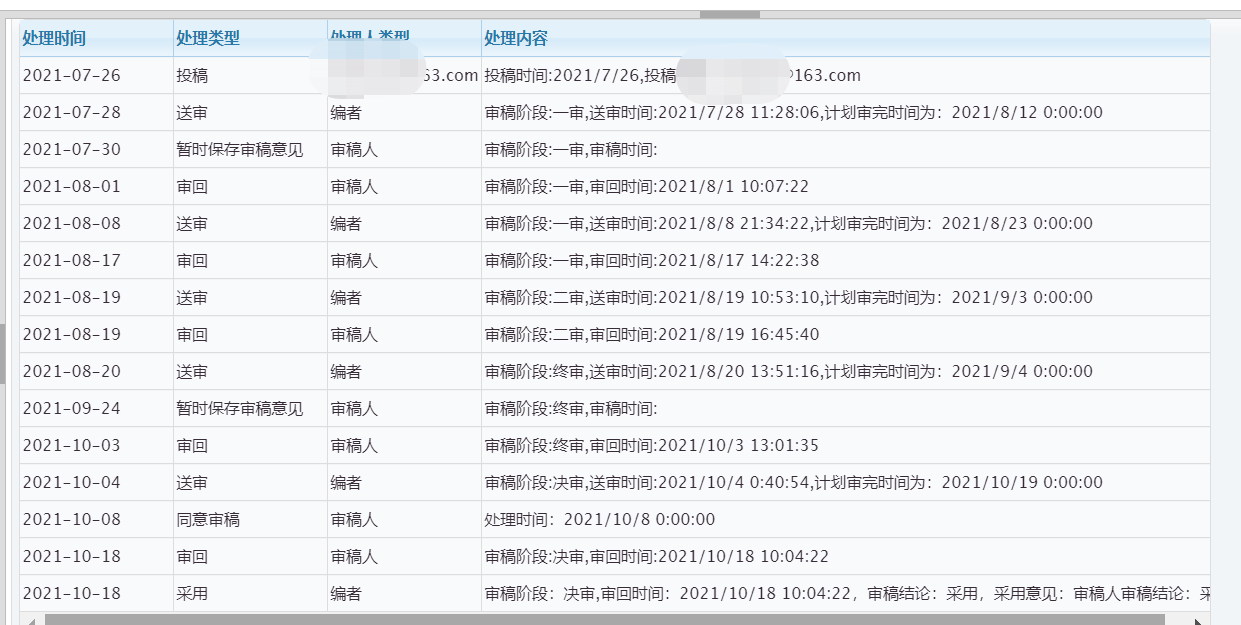
2021年7月份投稿 经历了将近三个月录用 其中终审超期一个月 后面又送决审 跟论坛的任何一个分享科技管理研究录用经验的前辈比 我的这篇稿子录用时间真的太长太煎熬了 尤其终审超期的那一个月 每天至少要登投稿系统三次 每次都是一动不动的进度条 那种苦苦等待煎熬的感觉实在太难受了 而且一超就超了一个月 我中间几度都觉得凉凉了 每次等的难受就来论坛刷前辈的投稿经验 想要从他们的经历中发现一丝能否录用的蛛丝马迹 终于 漫长的等待有了开心的结果 感恩论坛在迷茫的日子里给我的陪伴 现附上录用经过截图 也祝愿每一个看到此贴的努力发论文的小伙伴都能收获理想成果

成果