立即打开
扫码加我 拉你入群
请注明:姓名-公司-职位
以便审核进群资格,未注明则拒绝
全部回复
yerque 发表于 2021-10-19 10:23 
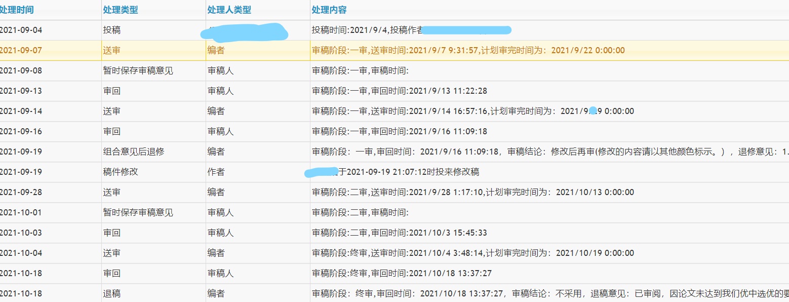
耗时一个半月,退稿。流程图如下
我9月6号投的,也是昨天终审审回
扫码加我 拉你入群
请注明:姓名-公司-职位
以便审核进群资格,未注明则拒绝
扫码加我 拉你入群
请注明:姓名-公司-职位
以便审核进群资格,未注明则拒绝
慢半拍婉清 发表于 2021-10-22 20:56 
有没有人预计19号,但超期了的呀
我的预计19号,目前还是送终审
扫码加我 拉你入群
请注明:姓名-公司-职位
以便审核进群资格,未注明则拒绝
GJL123 发表于 2021-10-23 08:35 
我的预计19号,目前还是送终审
我的也是
扫码加我 拉你入群
请注明:姓名-公司-职位
以便审核进群资格,未注明则拒绝
GJL123 发表于 2021-10-23 08:35 
我的预计19号,目前还是送终审
你的终审结束了吗
扫码加我 拉你入群
请注明:姓名-公司-职位
以便审核进群资格,未注明则拒绝
相关推荐
栏目导航
热门文章
推荐文章
扫码加好友,拉您进群