全部版块 我的主页
论坛 提问 悬赏 求职 新闻 读书 功能一区 经管文库(原现金交易版)
779 0
2022-02-24
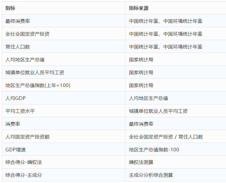
一、数据介绍

数据名称:“地区营商环境-宏观经济指数”原始数据及测算

数据年份:2006-2020年

数据范围:全国31个省份

数据来源:中国统计年鉴、中国环境统计年鉴

测算方法:熵权法、主成分分析法

数据整理:内含原始版本、线性插值版本、ARIMA填补版本

数据说明:参照杨仁发等(2021)的文章,利用熵权法和主成分分析法进行“地区营商环境-宏观经济指数”测算,原始数据及测算结果一并附上,供各位学者研究使用!

二、参考文献

参考文献:杨仁发,魏琴琴.营商环境对城市创新能力的影响研究——基于中介效应的实证检验[J].调研世界,2021(10):35-43.

三、数据概览

141.png 142.png 143.png

四、数据地址

宏观经济
大小:(76 Bytes)

只需: RMB 69元  马上下载


二维码

扫码加我 拉你入群

请注明:姓名-公司-职位

以便审核进群资格,未注明则拒绝

相关推荐
栏目导航
热门文章
推荐文章

说点什么

分享

扫码加好友,拉您进群
各岗位、行业、专业交流群