全部版块 我的主页
论坛 经济学论坛 三区 宏观经济学
768 1
2022-08-16

   台风数据库,共包含来自两个来源的台风信息,各来源在字段、数据量方面均有不同,此二来源全面、完整地涵盖了我国东南沿海至西太平洋的台风相关信息。


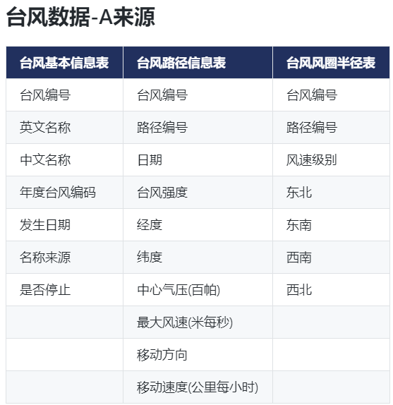
   A来源包含三张子表

  •    台风基本信息
  •    台风路径信息
  •    台风风圈半径

   B来源包含四张子表

  •    台风基本信息表
  •    台风登陆信息表
  •    台风路径信息表
  •    台风预测信息表



  数据来源说明:

· A来源:1945-2022.5.31(风圈半径表的起始时间为2015年)

· B来源:1949-2022.5.31(预测信息表的起始时间为2004年)


数据规模:

规模.png


字段展示:

字段1.png


字段2.png


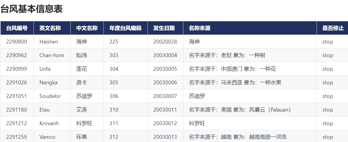
样本展示:

样本1.png


样本2.png


样本3.png





CnOpenData台风数据.zip
大小:(6.26 MB)

 马上下载

本附件包括:

  • CnOpenData台风数据-A来源(样本).xlsx
  • CnOpenData台风数据-B来源(样本).xlsx
  • CnOpenData台风数据-字段表.xlsx
  • CnOpenData数据使用说明.pdf
  • CnOpenData用户使用手册-2022版.pdf




二维码

扫码加我 拉你入群

请注明:姓名-公司-职位

以便审核进群资格,未注明则拒绝

全部回复
2022-8-26 15:39:27
感谢分享
二维码

扫码加我 拉你入群

请注明:姓名-公司-职位

以便审核进群资格,未注明则拒绝

相关推荐
栏目导航
热门文章
推荐文章

说点什么

分享

扫码加好友,拉您进群
各岗位、行业、专业交流群