全部版块 我的主页
论坛 经济学论坛 三区 宏观经济学
472 0
2023-07-18

   中国地方ZF规章数据,来源于省、自治区、直辖市和设区的市、自治州的人民ZF网站和地方ZF公报,包含主标题、规章类型、制定机关、正文内容等字段。


1.时间区间

截止2023.5.22


2.数据规模

规模.png



3.字段展示

字段.png



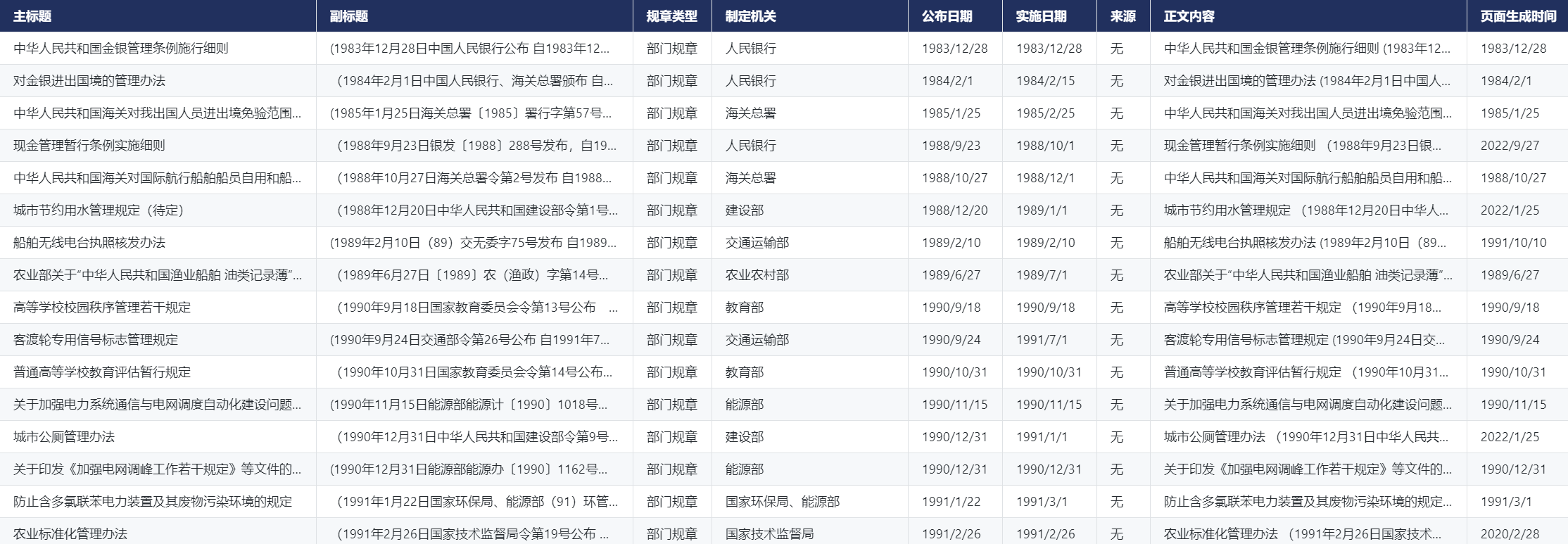
4.样本展示

样本1.png



5.样本下载(正式数据的一部分)


二维码

扫码加我 拉你入群

请注明:姓名-公司-职位

以便审核进群资格,未注明则拒绝

栏目导航
热门文章
推荐文章

说点什么

分享

扫码加好友,拉您进群
各岗位、行业、专业交流群