全部版块 我的主页
论坛 经济学论坛 三区 宏观经济学
525 1
2023-07-26
   A股上市公司IPO发行文本数据收集了在上海证券交易所和深圳证券交易所上市的A股上市公司IPO发行文本数据,其中沪市和深市分别有2个来源,包含代码、公司名称、标题、公告时间、URL、分类、板块、行业、年度等字段。


1.时间区间
深市IPO发行文件-A来源:2002.2.27-2022.5.31  
深市IPO发行文件-B来源:2001.8.11-2022.5.31  
沪市IPO发行文件-A来源:2013.12.31-2022.5.31  
沪市IPO发行文件-B来源:2001.1.10-2022.5.31


2.字段展示
字段.png


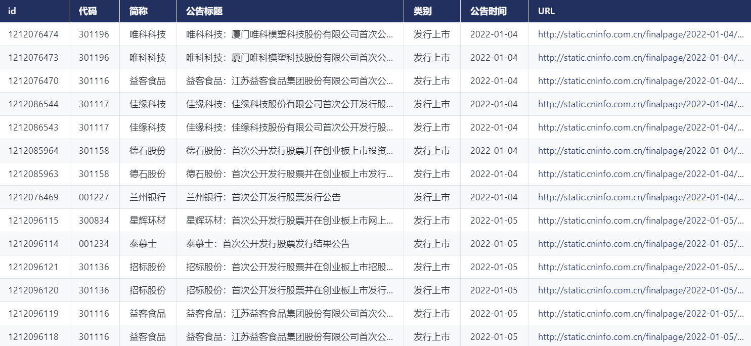
3.样本展示
样本1.png

样本2.png



4.样本下载(正式数据的一部分)


二维码

扫码加我 拉你入群

请注明:姓名-公司-职位

以便审核进群资格,未注明则拒绝

全部回复
2025-5-3 10:33:12
二维码

扫码加我 拉你入群

请注明:姓名-公司-职位

以便审核进群资格,未注明则拒绝

栏目导航
热门文章
推荐文章

说点什么

分享

扫码加好友,拉您进群
各岗位、行业、专业交流群