全部版块 我的主页
论坛 经济学论坛 三区 宏观经济学
513 0
2023-09-15

  全球逐日气象站点数据是覆盖全球的天气数据的宝贵来源,从1929年至今,并以1973年至今的数据最为完整,最新每日数据摘要观测日期时间之后的1-2天发布。每日数据类型除降水量(0.01英寸),还包括:平均温度(0.1华氏度)、最高温度(0.1华氏度)、最低温度(0.1华氏度)、平均风速(0.1)、最大持续风速(0.1)、最大阵风(0.1节)和积雪深度(0.1英寸)等。

  全球逐日气象站点数据包括全球超9000个站点的气象观测数据,数据规模相当于一次气候普查,这对于监测气候变化和气候敏感的部门而言至关重要。



1.时间区间

1929-2023.7


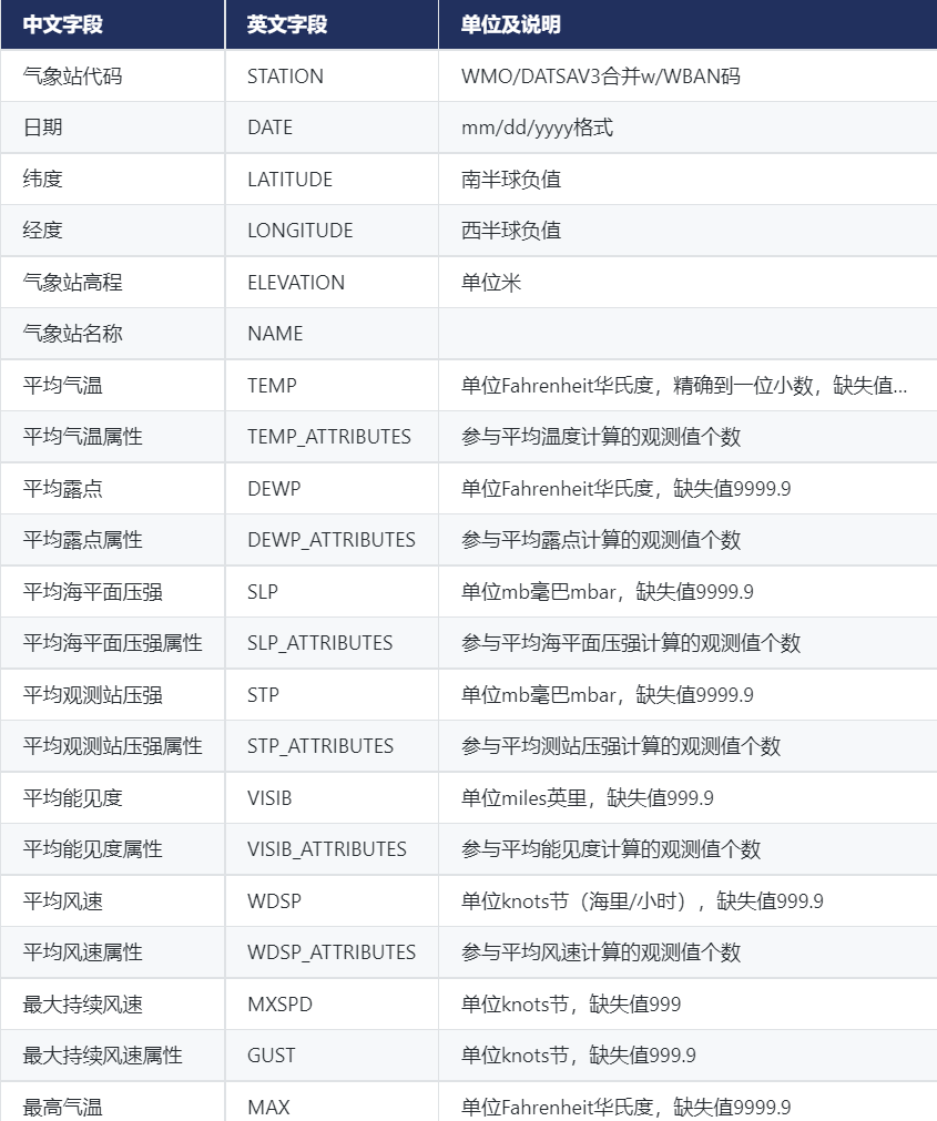
2.字段说明

字段.png

字段1.png



3.样本展示

样本1.png

样本2.png




4.样本下载(正式数据的一部分)


二维码

扫码加我 拉你入群

请注明:姓名-公司-职位

以便审核进群资格,未注明则拒绝

相关推荐
栏目导航
热门文章
推荐文章

说点什么

分享

扫码加好友,拉您进群
各岗位、行业、专业交流群