全部版块 我的主页
论坛 提问 悬赏 求职 新闻 读书 功能一区 经管文库(原现金交易版)
328 0
2024-02-24
数据文档
背景描述

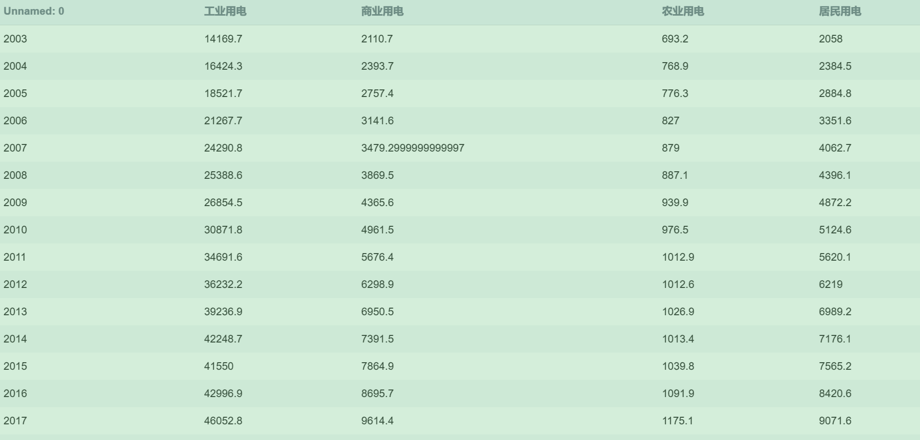
该数据为我国2003-2020年工业用电、农业用电、商业用电以及居民用电数据集,时间分辨率为“年”,空间分辨率为整个中国。

数据说明

数据共有5列,第一列为时间列,表示数据的年份,其他四列分别为工业用电、商业用电、农业用电以及居民用电, 数据单位为“亿千瓦时”。

读取方法import pandas as pddf = pd.read_csv(file_name)可视化效果展示

数据来源

国家统计局官网

2.png

3.png

研究方向
  • 电力负荷预测
  • 用电量统计
  • 数据格式.csv
  • 文件大小595.0 Byte
2003-2020年中国各行业电力消费总量数据.zip
大小:(538 Bytes)

只需: RMB 1元  马上下载

本附件包括:

  • 2003-2020年中国各行业电力消费总量数据.csv




二维码

扫码加我 拉你入群

请注明:姓名-公司-职位

以便审核进群资格,未注明则拒绝

相关推荐
栏目导航
热门文章
推荐文章

说点什么

分享

扫码加好友,拉您进群
各岗位、行业、专业交流群