经管之家App
让优质教育人人可得
立即打开
全部版块
我的主页
›
论坛
›
经济学论坛 三区
›
宏观经济学
商业特许经营企业备案数据
楼主
孙潇琦
306
1
收藏
2024-04-28
商业特许经营行为是指拥有注册商标、企业标志、专利、专有技术等经营资源的企业(以下称特许人),以合同形式将其拥有的经营资源许可其他经营者(以下被特许人)适用,被特许人按照合同约定在统一的经营模式下开展经营,并向特许人支付特许经营费用的经营活动。商业特许经营的核心是知识产权的授予使用、特许人具备成熟的经营模式和持续指导能力、被特许人在统一模式下经营并向特许人交纳费用。
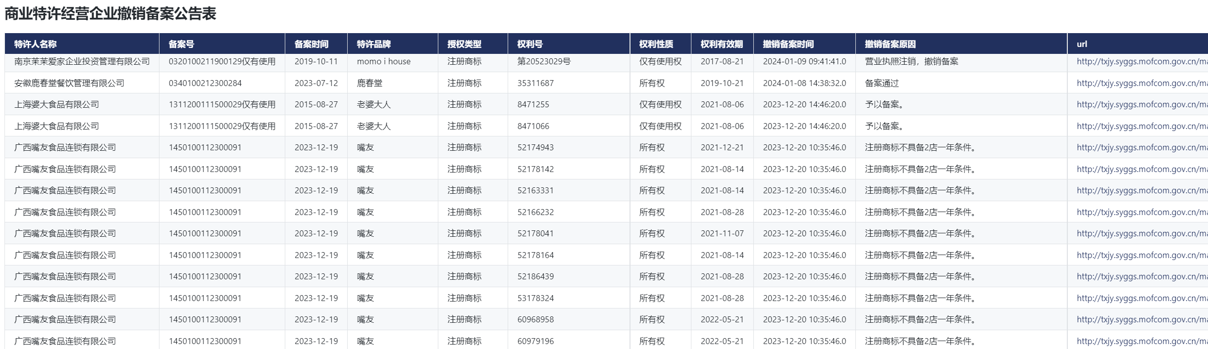
商业特许经营企业备案数据
,分为商业特许经营企业基本信息表、经营资源信息表、境内加盟店表、撤销备案公告表、工商基本信息表等五张表,包含特许人名称、备案号、公告时间、加盟店名称、撤销备案等字段。
1.时间区间
截至2024.03.10
2.字段展示
3.样本展示
4.样本下载(正式数据的一部分)
CnOpenData商业特许经营企业备案数据.zip
大小:(15.19 MB)
马上下载
扫码加我 拉你入群
请注明:姓名-公司-职位
以便审核进群资格,未注明则拒绝
相关推荐
特许经营在中国:终于能挂羊头卖羊肉
特许经营知识
城镇水务项目特许经营的基本现状与改革方向
中国特许经营发展状况蓝皮书2006
经济型酒店特许经营模式影响因素研究[D]
特许经营项目财务处理
ppp特许经营模式下有什么国有资产流失的情况
特许经营、特许经营是什么、特许经营的含义
港股打新(华住集团(01179.HK))
特许经营模式对快餐企业股价的影响 用威布尔分析法分析衰退与复苏
栏目导航
宏观经济学
经管文库(原现金交易版)
金融学(理论版)
麦田创投
真实世界经济学(含财经时事)
经管在职研
热门文章
科研时间70%耗在“下载-复制-粘贴”?零代码 ...
精准匹配,菁英相伴--经管之家单身俱乐部, ...
CDA 认证考试大纲 2025 重磅更新:一二级考 ...
我该如何记住你?智能体记忆系统的演化之路
2026年Agent领域十大趋势判断
低空经济发展报告(2025-2026)
202601-中国智能驾驶行业趋势白皮书
现代数学基础 现代极限理论及其在随机结构中 ...
无上高明的“无为”“无住”哲学在传统中国
【25更新,详细,热点指标!】2002-2025省级ZF ...
推荐文章
2026JG学术冬训营:从Stata初高到Python机器 ...
【必看】【本版版规,欢迎发悬赏贴求助】
26年寒假天津站|Gemini论文写作&数据分析 ...
关于如何利用文献的若干建议
关于学术研究和论文发表的一些建议
关于科研中如何学习基础知识的一些建议 (一 ...
一个自编的经济学建模小案例 --写给授课本科 ...
AI智能体赋能教学改革: 全国AI教育教学应用 ...
2025中国AIoT产业全景图谱报告-406页
关于文献求助的一些建议
说点什么
分享
微信
QQ空间
QQ
微博
扫码加好友,拉您进群
各岗位、行业、专业交流群