经管之家App
让优质教育人人可得
立即打开
全部版块
我的主页
›
论坛
›
经济学论坛 三区
›
宏观经济学
中国消费者在线投诉文本数据
楼主
孙潇琦
776
0
收藏
2024-09-24
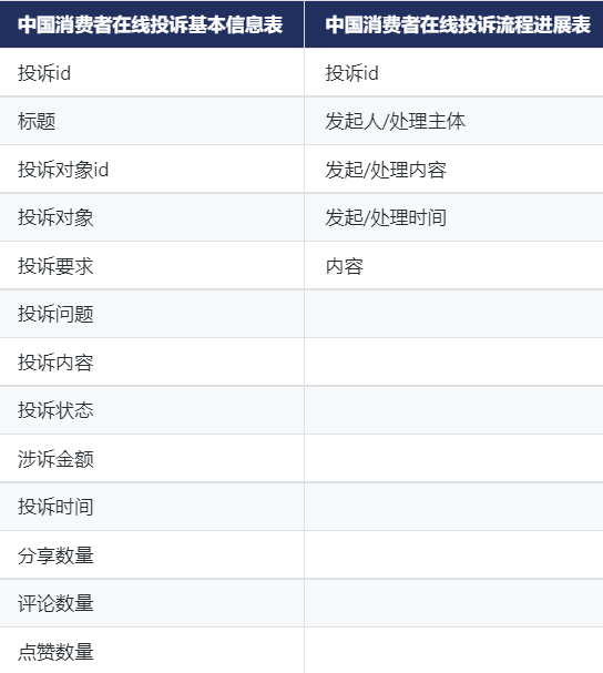
中国消费者在线投诉文本数据,分为中国消费者在线投诉基本信息表和中国消费者在线投诉流程进展表,数据具有实时性、客观性和公正性,涵盖投诉id、发起人/处理主体、发起时间、投诉内容、投诉对象、投诉状态、涉诉金额等字段,以期为相关研究助力。
1.时间区间
截止2024.8
2.字段展示
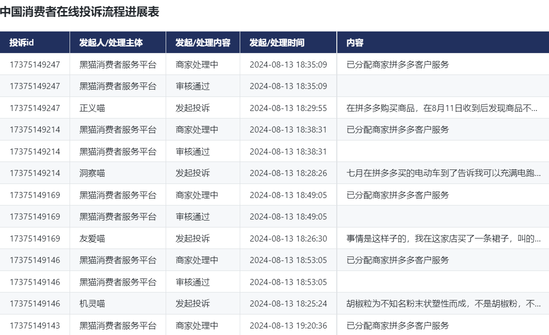
3.样本
展示
扫码加我 拉你入群
请注明:姓名-公司-职位
以便审核进群资格,未注明则拒绝
相关推荐
雅培将为中国消费者更换召回产品
<经济学家>EIU英文报告_中国消费者的需要与担忧
【独家发布】中国消费者透视
91%的中国消费者愿为高品质服饰买单
2015年中国消费者趋势洞察报告
【商业故事】三星S8国行版极力讨好中国消费者 你会买账么
2017中国消费者调查报告-“双击”中国消费者
今日头条--领航前所未有-中国消费者洞察报告_52页_5mb
凯度-解读2022年中国消费者价值观和生活态度变化-37页
解读2022年中国消费者价值观和生活态度变化
栏目导航
宏观经济学
经管文库(原现金交易版)
爱问频道
经管在职研
经管高考
经济史与经济思想史
热门文章
CDA数据分析脱产就业班在2026年3月7日开班了 ...
好书分享-《理解信念与人工智能》
经济政策不确定性冲击下全球系统性金融风险 ...
亚洲股票市场的风险溢出效应——基于动态金 ...
当Stata遇上 AI 智能体:你的实证研究,正在 ...
从数据仓库到智能取数:CDA数据分析师视角下 ...
CDA 认证考试大纲 2025 重磅更新:一二级考 ...
相对于Harness这个词,我更钟情控制论:从控 ...
A Practical Guide to Logistic Regression ...
GraphPad Prism 多因素方差分析
推荐文章
【文献求助专区】版主工作备用贴
五一充电,学术突围!四大AI赋能王牌课程, ...
关于学术研究和论文发表的一些建议
几种免费下载文献的方法----我的文献应助经
【必看】【本版版规,欢迎发悬赏贴求助】
【新课】26年3月|Gemini辅助论文写作与数据 ...
关于如何利用文献的若干建议
关于科研中如何学习基础知识的一些建议 (一 ...
一个自编的经济学建模小案例 --写给授课本科 ...
AI智能体赋能教学改革: 全国AI教育教学应用 ...
说点什么
分享
微信
QQ空间
QQ
微博
扫码加好友,拉您进群
各岗位、行业、专业交流群