经管之家App
让优质教育人人可得
立即打开
全部版块
我的主页
›
论坛
›
经济学论坛 三区
›
宏观经济学
全球自然灾害数据
楼主
孙潇琦
355
0
收藏
2025-02-18
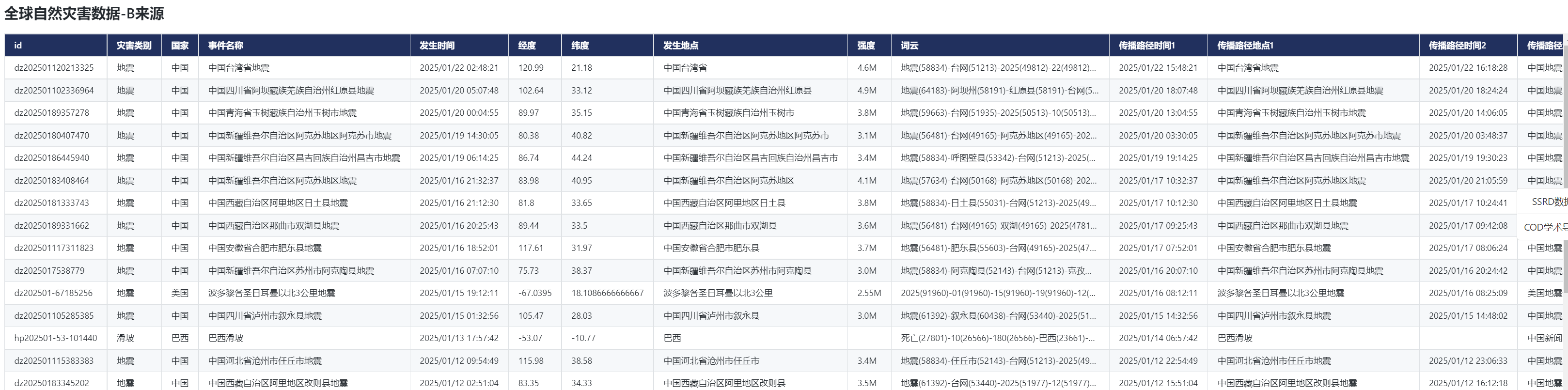
自然灾害是指给人类生存带来危害或损害人类生活环境的自然现象,包括干旱、高温、低温、寒潮、洪涝、山洪、台风、龙卷风、火焰龙卷风、冰雹、风雹、霜冻、暴雨、暴雪、冻雨、酸雨、大雾、大风、结冰、霾、雾霾、地震、海啸、滑坡、泥石流、浮尘、扬沙、沙尘暴、雷电、雷暴、球状闪电、火山喷发等。
CnOpenData整理了
两个来源的全球自然灾害信息,A来源数据总量为三千二百条,B来源数据总量为一万两千条
,表格包含灾害类别、灾害等级、所在地区、经纬度、受影响人数、直接经济损失等内容。
1.时间区间
A来源:2016.1.1-2024.5.12
B来源:2007.5.7-2025.1.20
2.数据规模
3.字段展示
4.样本展示
5.相关文献
杨子晖、李东承、陈雨恬,2024:《金融市场的“绿天鹅”风险研究——基于物理风险与转型风险的双重视角》,《管理世界》第2期。
丁宇刚、孙祁祥,2022:《气候风险对中国农业经济发展的影响——异质性及机制分析》,《金融研究》第9期。
许闲、张彧,2017:《自然灾害损失评估:联合国框架、评价与案例》,《数量经济技术经济研究》第8期。
6.样本下载(正式数据的一部分)
CnOpenData全球自然灾害数据.zip
大小:(15.3 MB)
马上下载
扫码加我 拉你入群
请注明:姓名-公司-职位
以便审核进群资格,未注明则拒绝
相关推荐
[原创]救灾先于反思
请问有人有今年上半年各种自然灾害造成的损失的数据么?
经济危机与自然灾害发生地共通点
如今的新闻,看完只是郁闷
费率计算
800论坛币求四川省1980-2010年自然灾害直接经济损失数据
国家科技支撑计划“中国重大自然灾害风险等级综合评估技术研究”项目通过验收
给孩子们看的防灾避险故事
基于神经网络的自然灾害灾情评估模型研究
风险共担的国家保险
栏目导航
宏观经济学
行业分析报告
经管文库(原现金交易版)
真实世界经济学(含财经时事)
哲学与心理学版
马克思主义经济学
热门文章
表格结构数据特征与CDA数据分析师:精准适配 ...
新宏观丨豆包,传统经济学与商学对全球性债 ...
问卷填写,每份50个论坛币
【中国电信】2025年云计算研究白皮书
奇瑞QQ焕新归来
房地产行业:2026年,年轻人应该先买车还是 ...
普华永道 - 中国影响力报告2025
【24更新,自用整理!】2007-2024省级环境保护 ...
【24重磅更新】2000-2024上市公司盈余管理合 ...
CDA数据分析脱产就业班于2026年3月7日开班! ...
推荐文章
风险共担的国家保险
如今的新闻,看完只是郁闷
请问有人有今年上半年各种自然灾害造成的损失的数据么?
[原创]救灾先于反思
800论坛币求四川省1980-2010年自然灾害直接经济损失数据
2026JG学术冬训营:从Stata初高到Python机器 ...
说点什么
分享
微信
QQ空间
QQ
微博
扫码加好友,拉您进群
各岗位、行业、专业交流群