全部版块 我的主页
论坛 经济学论坛 三区 宏观经济学
250 1
2026-01-20
   在金融市场微观结构研究中,高频交易数据是揭示价格形成机制、订单簿动态与投资者瞬时行为的“电子显微镜”。CnOpenData系统性地采集并处理了上海与深圳证券交易所发布的底层交易流水,构建了A股上市公司股票高频交易数据库。本库完整包含逐笔成交与逐笔委托两大核心表,以毫秒级时间戳记录了自2017年至今的市场每一笔交易意图与实现结果。数据字段设计严格遵循交易所原始逻辑,完整保留了订单方向、价格、数量及关联关系等关键属性,为深入研究市场微观质量、交易者行为模式及高频量化策略提供了纯净、精确且标准化的基础数据设施。


数据特点:
  • 毫秒级时序的完整事件记录:数据库同时提供“逐笔委托”与“逐笔成交”表,二者通过“委托代码”等关键字段可精准关联,完整重构出从订单申报、排队、撮合到最终成交的全链条生命周期。
  • 交易所原生字段与精确标识:数据严格保留了“BS标志”(买卖方向)、“委托类型”、“成交编号”、“叫卖/叫买序号”等交易所原始字段。这些标识是解读订单流方向、区分主动性交易与被动性交易、重建盘中瞬时订单簿的唯一精确依据,确保了研究的严谨性与可复现性。



1.时间区间
2017-2025(可根据需要进行更新)



2.字段展示
1.png



3.样本展示
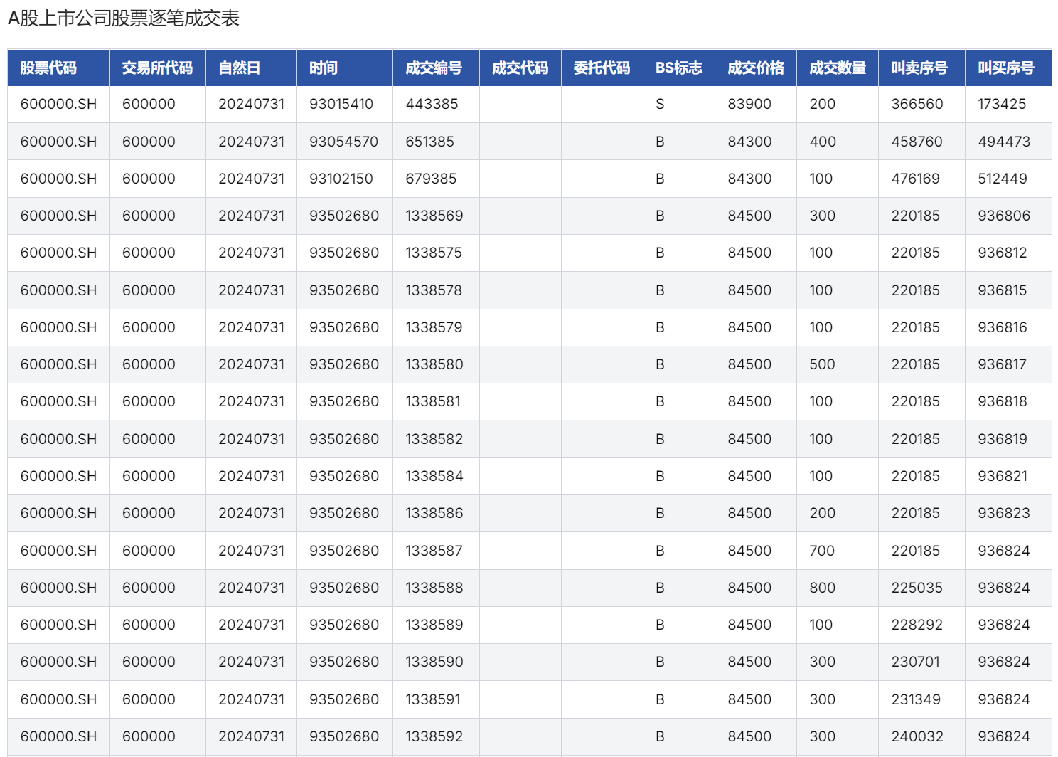
2.png
3.png




4.样本下载(正式数据的一部分)

二维码

扫码加我 拉你入群

请注明:姓名-公司-职位

以便审核进群资格,未注明则拒绝

全部回复
昨天 12:55
support sharing
二维码

扫码加我 拉你入群

请注明:姓名-公司-职位

以便审核进群资格,未注明则拒绝

栏目导航
热门文章
推荐文章

说点什么

分享

扫码加好友,拉您进群
各岗位、行业、专业交流群