经管之家App
让优质教育人人可得
立即打开
全部版块
我的主页
›
论坛
›
经济学人 二区
›
学术道德监督
投稿被泄露了吗?
楼主
冬眠中
2281
4
收藏
2014-07-14
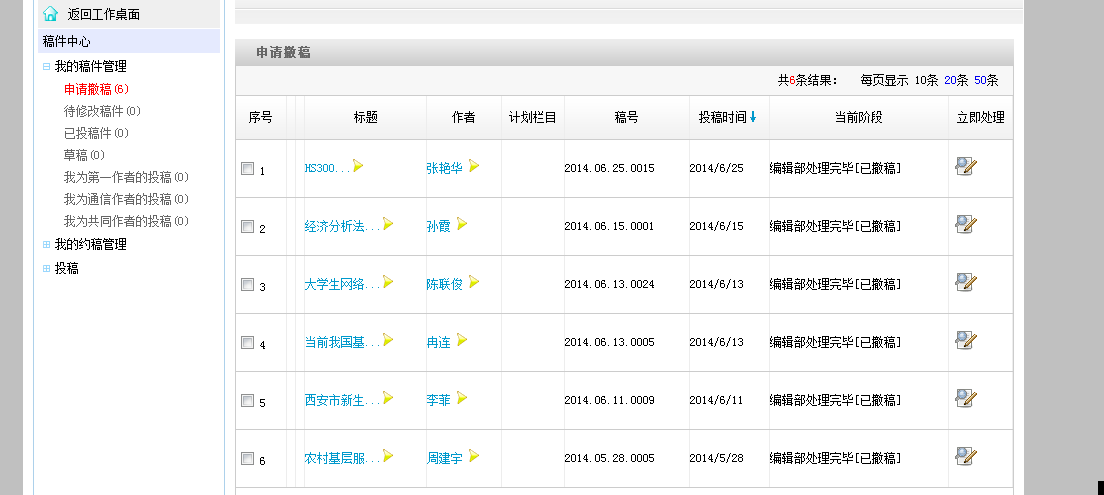
不知道大家用过“期刊协同采编系统”没有?
今天下午注册《理论与改革》以后,就发现以前就有6个人申请撤稿。并且稿子全文都能下载。
不知道这是什么情况?是《理论与改革》一家还是所有使用“期刊协同采编系统”的刊物都是如此?
不知道申请撤稿是什么情况,如果只要申请撤稿别人都能下载的话,投稿岂不是很危险?
图如下:
附件列表
QQ截图20140714144043.png
原图尺寸 28.17 KB
扫码加我 拉你入群
请注明:姓名-公司-职位
以便审核进群资格,未注明则拒绝
全部回复
沙发
shucaiwanzi
2014-7-14 15:21:23
刚刚看到,我的也有这几篇
扫码加我 拉你入群
请注明:姓名-公司-职位
以便审核进群资格,未注明则拒绝
藤椅
无名天使
2014-7-14 15:55:44
这个系统有问题啊
扫码加我 拉你入群
请注明:姓名-公司-职位
以便审核进群资格,未注明则拒绝
板凳
广州杜公子
2014-7-14 18:36:52
为什么自己的账号能看到其他人的稿子?简直太恐怖了。如果能下载的话,岂不是就会被盗走发表?
扫码加我 拉你入群
请注明:姓名-公司-职位
以便审核进群资格,未注明则拒绝
报纸
冬眠中
2014-7-15 19:36:41
竟然没有人关注
扫码加我 拉你入群
请注明:姓名-公司-职位
以便审核进群资格,未注明则拒绝
相关推荐
[求助]理论与改革杂志
理论与改革
有投过《理论与改革》的朋友吗?
理论与改革有字数要求吗??????????
理论与改革 这样有录用希望吗?
“理论与改革”新投稿系统咨询
《理论与改革》投稿系统
请大家看看,《理论与改革》是啥情况?
《理论与改革》准备安排组版的文章居然不见了
咨询理论与改革审稿程序
栏目导航
学术道德监督
会计与财务管理
经管文库(原现金交易版)
CAA、SOA精算师等考证版
经管高考
金融学(理论版)
热门文章
【重磅权威】2000-2024年上市公司人力资本流 ...
求助英文文献一篇
中国力量席卷全球- 绿色赋能地产先行 掀起全 ...
《寻路集:在全球网络中寻找合适节点 》周其 ...
我该如何记住你?智能体记忆系统的演化之路
CDA数据分析脱产就业班于2026年3月7日开班! ...
表格结构数据的核心特征及具象实例解析
伍德里奇计量经济学导论第六版教材PDF
2026年Agent领域十大趋势判断
湖南统计年鉴2025(Excel版)
推荐文章
2026JG学术冬训营:从Stata初高到Python机器 ...
【必看】【本版版规,欢迎发悬赏贴求助】
26年寒假天津站|Gemini论文写作&数据分析 ...
关于如何利用文献的若干建议
关于学术研究和论文发表的一些建议
关于科研中如何学习基础知识的一些建议 (一 ...
一个自编的经济学建模小案例 --写给授课本科 ...
AI智能体赋能教学改革: 全国AI教育教学应用 ...
2025中国AIoT产业全景图谱报告-406页
关于文献求助的一些建议
说点什么
分享
微信
QQ空间
QQ
微博
加微信,拉你入群
微信外可尝试点击本链接进入