经管之家App
让优质教育人人可得
立即打开
全部版块
我的主页
›
论坛
›
经济学人 二区
›
学术资源/课程/会议/讲座
›
论文版
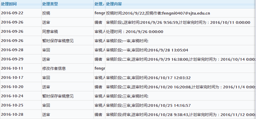
《科技管理研究》终审这么慢,是不是有点凶险?
楼主
derecwang
1772
4
收藏
2016-11-11
预计12号出结果,但12号是周六。今天已经过去了
是不是有点悬?
扫码加我 拉你入群
请注明:姓名-公司-职位
以便审核进群资格,未注明则拒绝
全部回复
沙发
南南数据
2016-11-11 23:50:22
那个是计划时间,是12号左右,楼主何必纠结于具体的时点??审稿这这种事情有很多因素影响的。
扫码加我 拉你入群
请注明:姓名-公司-职位
以便审核进群资格,未注明则拒绝
藤椅
哈哈哈人
2016-11-14 08:31:35
derecwang 发表于 2016-11-11 22:58
预计12号出结果,但12号是周六。今天已经过去了
是不是有点悬?
应该出结果了吧
扫码加我 拉你入群
请注明:姓名-公司-职位
以便审核进群资格,未注明则拒绝
板凳
fhy_425
2016-11-14 13:53:13
帮楼主审稿进度差不多,还在等终审结果,祝好
扫码加我 拉你入群
请注明:姓名-公司-职位
以便审核进群资格,未注明则拒绝
报纸
derecwang
2016-11-14 21:14:09
[em03][em03] 今天被退稿了
扫码加我 拉你入群
请注明:姓名-公司-职位
以便审核进群资格,未注明则拒绝
相关推荐
有收到科技管理研究第9期的吗
科技管理研究
科技管理研究 两次二审?
科技管理研究--终审超期一周
科技管理研究终审退修再审,有多大机会录用?
科技管理研究昨天三审送审一个小时审回,希望大不大
科技管理研究终审要我修改格式,请问需要变成两栏式吗?
投《科技管理研究》的注意啦
《科技管理研究》录用经验以及攒人品
科技管理研究版面费发票问题
栏目导航
论文版
农林经济学
SAS专版
求助成功区
经管文库(原现金交易版)
R语言论坛
热门文章
文本分析:从经管顶刊“加分项”到学术发表 ...
CDA 认证考试大纲 2025 重磅更新:一二级考 ...
CAIE人工智能工程师认证
哈耶克作品集 6本 含通往奴役之路、自由宪章 ...
全球260多个国家的年通货膨胀率(1961-2024 ...
2026春夏天猫服饰趋势紫宝书
2025中国播客行业现状与发展趋势报告
【详细整理,24重磅!】1990-2024上市公司市场 ...
十五五期间我国面临的宏观战略态势研究
奇瑞首夺J.D.Power-VDS自主冠军
推荐文章
AI狂潮席卷学术圈,不会编程也能打造专属智 ...
10月重磅来袭|《打造Coze/Dify专属学术智能 ...
最快1年拿证,学费不足5W!热门美国人工智能 ...
关于如何利用文献的若干建议
关于学术研究和论文发表的一些建议
关于科研中如何学习基础知识的一些建议 (一 ...
一个自编的经济学建模小案例 --写给授课本科 ...
AI智能体赋能教学改革: 全国AI教育教学应用 ...
2025中国AIoT产业全景图谱报告-406页
关于文献求助的一些建议
说点什么
分享
微信
QQ空间
QQ
微博
扫码加好友,拉您进群
各岗位、行业、专业交流群