请注明:姓名-公司-职位
以便审核进群资格,未注明则拒绝
gwl11818 发表于 2018-7-2 18:16 正式刊物出刊没有?
mklsl 发表于 2018-7-2 20:05 没出是好事,也许明年才出,说不定又进C刊了
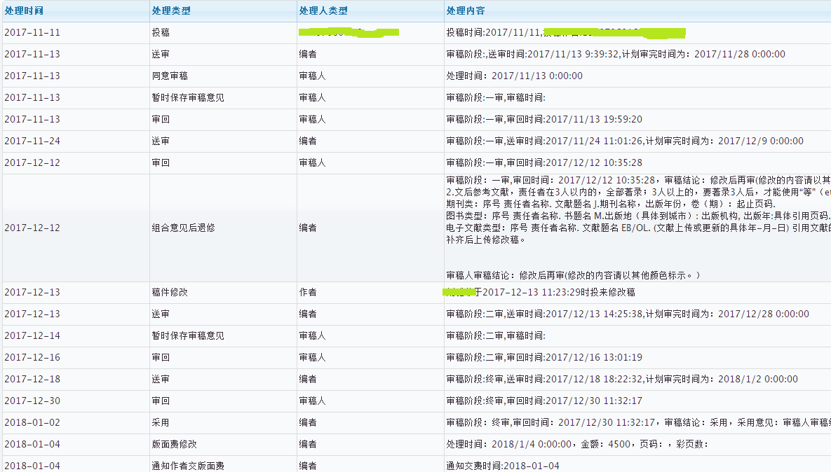
jxufe_thxing 发表于 2018-7-3 09:14 虽然被踢出c刊了,但是不得不说,现在它的投稿系统确实越来越好了,而且审稿速度很快,每一步流程很清晰,点 ...
jlwjlwjlw 发表于 2018-7-3 12:45 很贵啊
fei_up 发表于 2018-7-4 07:49 8月见刊
hhcjm 发表于 2018-7-4 11:01 4500,楼主论文多少页,多少字符啊
fei_up 发表于 2018-7-4 07:51 导师给报 嘻嘻
wanglizhao2012 发表于 2018-7-7 17:03 楼主能不能分享一下投稿网址?
gwl11818 发表于 2018-7-7 17:05 http://kjglyj.ijournals.cn/ch/index.aspx
fei_up 发表于 2018-7-4 07:50 哈哈哈 我们学校认定C刊是按入学时的 所以这篇够毕业了
kkkknm 发表于 2018-8-30 10:35 同学,你要搞清楚,C刊不是学校怎么认定,是数据库有没有收录,,要有收录证明的
lacy1994 发表于 2018-8-30 13:22 恭喜楼主,能不能麻烦楼主分享一下流程图,谢谢!
fei_up 发表于 2018-9-1 16:41 已经上传了呀
对方正在输入中ing 发表于 2018-10-31 15:19 想问楼主,第一作者你填的是自己还是导师
gwl11818 发表于 2018-7-4 08:03 一期的,我的也是8月见刊。
jiangxin726 发表于 2018-12-11 20:16 你好,我目前在投《科技与管理研究》,初审的结果是数字用法不规范、参考文献不规范,请问一下文章中的数字 ...