全部版块 我的主页
论坛 金融投资论坛 六区 金融学(理论版) 量化投资
1949 0
2019-01-02
在使用poboquant过程中,一些使用者希望获得仓位动态变动的例子。这里我们就提供一个开仓仓位随着市场价格变动的例子:

这是一个分钟级别根据macd指标 做多螺纹钢的例子。


主要策略代码如下,即diff比dea指标高出越多,即指标形态越偏向多头,就开越多的多头头寸:
仓位变动5.jpg

2017年回测结果如下:
收益为正,但回撤偏大,各个参数还有优化的空间

仓位变动7.jpg


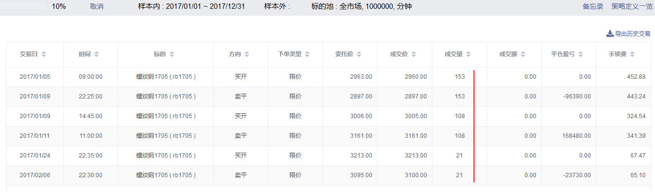
从回测的交易流水看,该策略实现了动态的开仓:


仓位变动8.jpg


读者可以根据这个例子做更多的拓展和优化:

该策略完整代码在
https://github.com/qmhedging/poboquant/blob/master/%E5%8A%A8%E6%80%81%E5%BC%80%E4%BB%93%E4%BE%8B%E5%AD%90%20dynamic%20positions%20example

更多范例代码可参考
https://github.com/qmhedging/poboquant


二维码

扫码加我 拉你入群

请注明:姓名-公司-职位

以便审核进群资格,未注明则拒绝

相关推荐
栏目导航
热门文章
推荐文章

说点什么

分享

扫码加好友,拉您进群
各岗位、行业、专业交流群