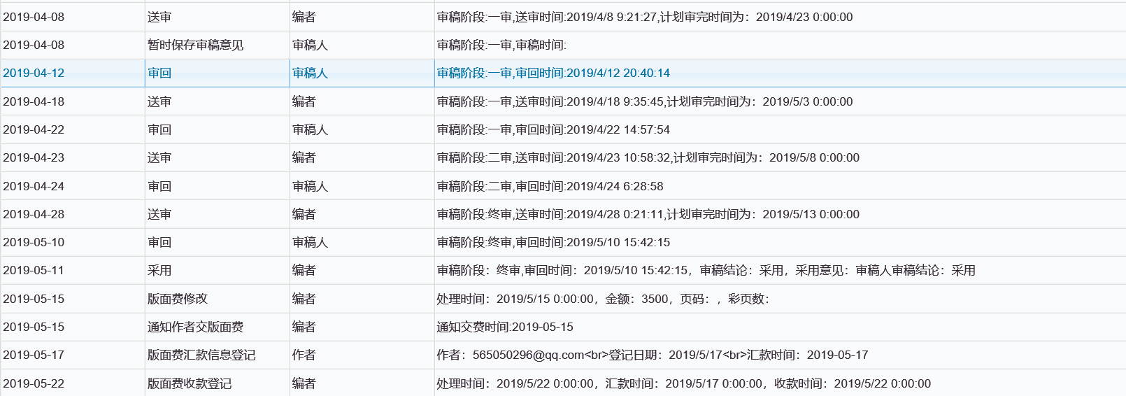
之前在论坛里面看过许多人的经验,对小生来说受益匪浅,本人的功底不够、水平有限,当初投稿的时候也不敢好高骛远,最终根据自己研究的主题和大多数参考文献的来源,综合各种原因,选择了科技管理研究,审稿的速度很快,流程在网上也清晰可见,可以随时查询,这个期刊是C刊扩展版,而且有很多人对于这个期刊不太看好,出稿的数量太多,周期太短,而且版面费不菲啊,我是挂的导师的一个项目,所以最终导师给报销了,我最终就选择了这个期刊,对于我这种第一次写作投稿的人来说,有人接收已经是我的幸运了

,以后还得向更高层次迈进。希望对于想投这个期刊的坛友能够有些许帮助。