全部版块 我的主页
论坛 经济学论坛 三区 宏观经济学
961 1
2022-08-25

  中国船舶行业数据,本数据包含了1975年至今在中国注册的船舶信息。



数据特点

·  根据CSACSAD分类,精准识别了国际与国内的航行船舶信息。

·  全面披露了全球三十多个国家在中国注册的船舶及其详细信息。







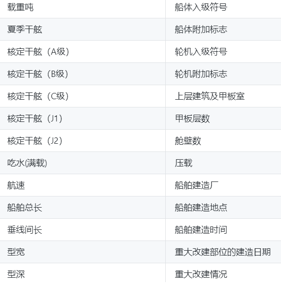
字段展示:

字段.png

字1.png



样本展示:

样本1.png

样本2.png

样本3.png

样本4.png

样本5.png

样本6.png

样本7.png






二维码

扫码加我 拉你入群

请注明:姓名-公司-职位

以便审核进群资格,未注明则拒绝

全部回复
2022-8-25 23:12:20
谢谢分享
二维码

扫码加我 拉你入群

请注明:姓名-公司-职位

以便审核进群资格,未注明则拒绝

相关推荐
栏目导航
热门文章
推荐文章

说点什么

分享

扫码加好友,拉您进群
各岗位、行业、专业交流群