前几日收到了编辑部拟录用稿修改通知,这篇文章从投稿统计研究到后续几轮修改的漫长时间总算快要结束了

,由于统计研究最近几年开始采用新的审稿系统,因此很多流程可能与以前系统有一定差异。
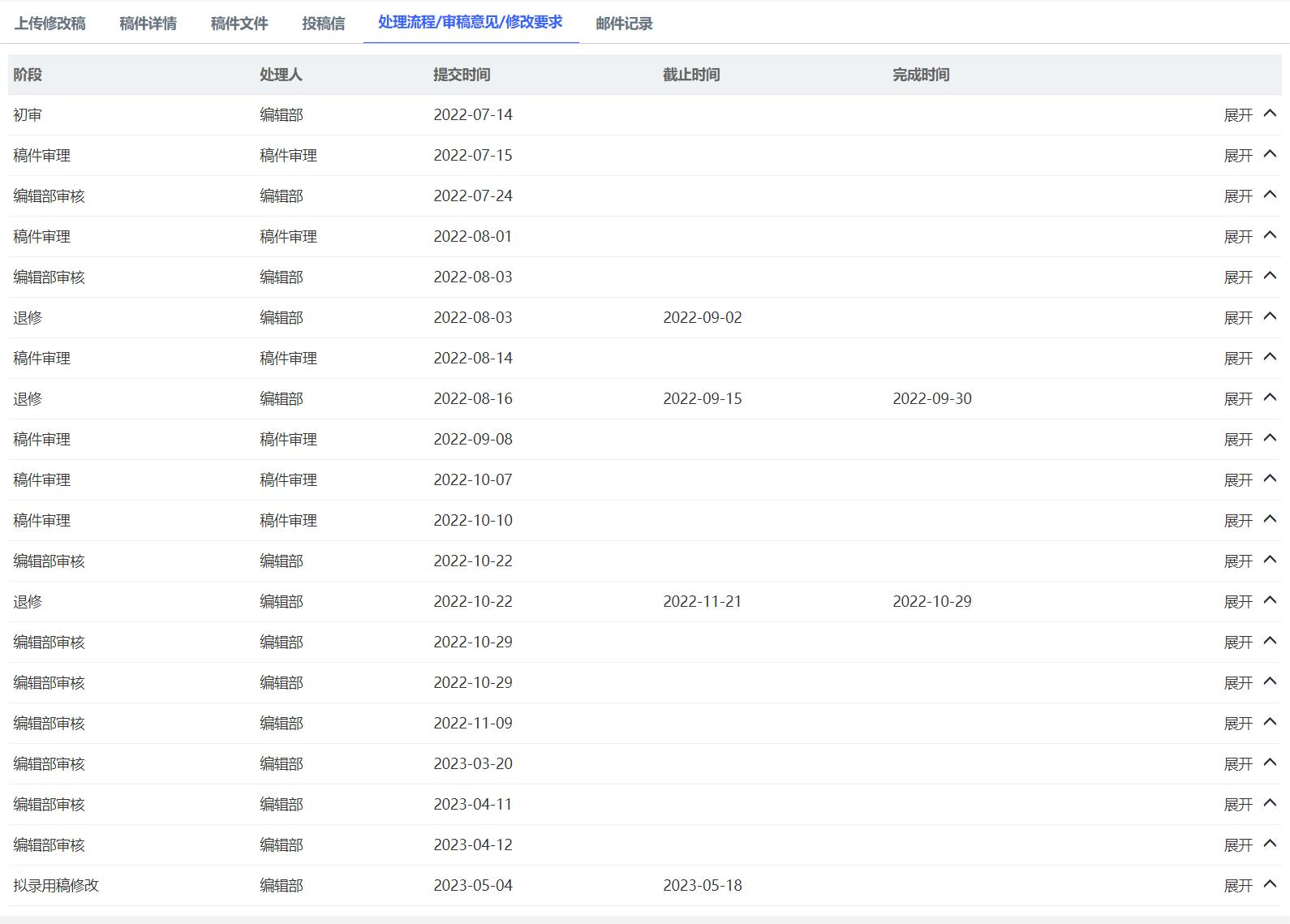
2022.7.11 投稿
2022.7月-2022.8月 外审
2022.8.3 外审返回(第一位审稿专家)
2022.8.14 修改返回
2022.8.16 编辑部审稿返回(该环节编辑部对文章提出了一些要求)
2022.9月初 修改返回
2022.9月-2022.10月 外审
2022.10.22 外审返回(第二位审稿专家)
2022.10.29 修改返回
2022.10-2023.4月 等待期间
2022.5.4 拟录用稿修改
整体来看,2022.7.11开始在系统投稿,到2023.5.4收到拟用稿修改通知,基本用了将近10个月的时间。根据坛友分享经验和编辑部处理速度来看,一般一个稿件从投稿到正规发表基本需要经历1-1.5年,后续可能还得等较长时间(有坛友录用修改后等了半年多),因此统计研究审稿整体流程算是偏长的,可能发表周期会达到2年,如果你着急发表的话,可能并不适合投统计研究。下面附上系统审稿流程图,有什么问题大家可以留言交流。