经管之家App
让优质教育人人可得
立即打开
全部版块
我的主页
›
论坛
›
经济学论坛 三区
›
宏观经济学
税收调查企业海关进出口数据
楼主
孙潇琦
990
3
收藏
2024-07-31
CnOpenData将
税收调查企业名单
与中国海关进出口数据中的
经营单位名称
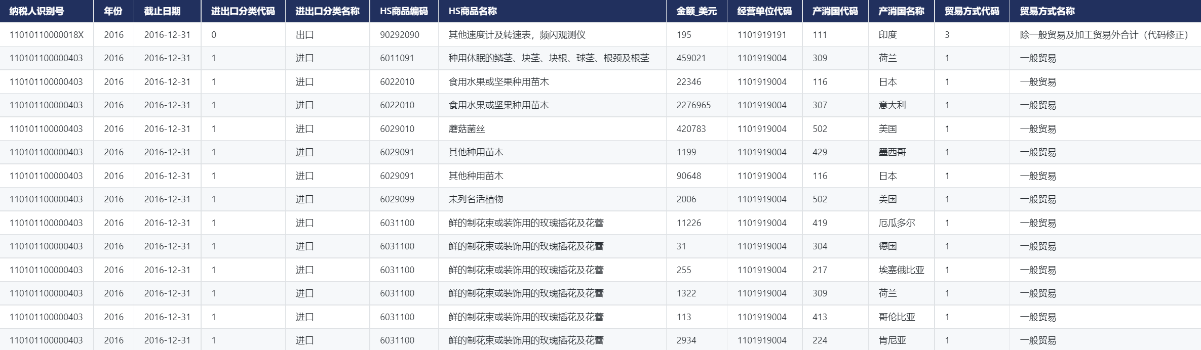
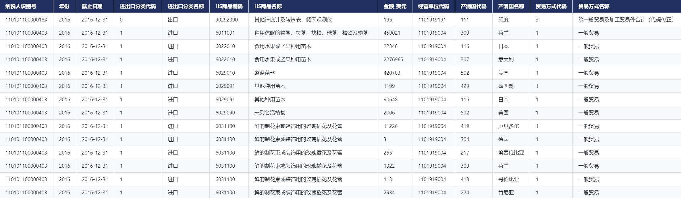
字段进行匹配,得到了税收调查企业海关进出口数据。本数据涵盖纳税人识别号、企业名称、模糊匹配名称、截止日期、年份、进出口分类代码、HS商品编码、金额_美元、经营单位名称、产消地区名称等字段,可以为相关研究提供数据支持。
1.时间区间
2007-2016
2.数据规模
3.字段展示
4.样本数据
5.样本下载(正式数据的一部分)
CnOpenData税收调查企业海关进出口数据.zip
大小:(18.78 MB)
马上下载
附件列表
3.png
原图尺寸 151.93 KB
扫码加我 拉你入群
请注明:姓名-公司-职位
以便审核进群资格,未注明则拒绝
全部回复
沙发
cufezyj
2024-12-19 00:10:50
请问有最新到比如2023、2024年份的数据吗
扫码加我 拉你入群
请注明:姓名-公司-职位
以便审核进群资格,未注明则拒绝
藤椅
cufezyj
2024-12-19 00:10:57
请问有最新到比如2023、2024年份的数据吗
扫码加我 拉你入群
请注明:姓名-公司-职位
以便审核进群资格,未注明则拒绝
板凳
学术打工仔eric
2025-12-14 21:21:32
请问如何获取完整数据呢
扫码加我 拉你入群
请注明:姓名-公司-职位
以便审核进群资格,未注明则拒绝
相关推荐
求:文献进出口数据
求2007或者其他年的 芦笋进出口数据
求助:如何查询具体产品的世界进出口数据?
2010年全国进出口3000强企业进出口数据
1995-2010年我国畜牧业进出口数据
求助:台湾细致的进出口数据哪里可以找到?
请问哪里可以下到中国进出口数据(分行业分地区)
四五月进出口数据波动
请问大家有没有地级市的进出口数据啊
2001-2020年全国个城市进出口数据
栏目导航
宏观经济学
经管文库(原现金交易版)
外文文献专区
学道会
行业分析报告
Stata专版
热门文章
CDA数据分析师实战核心:假设检验的逻辑、方 ...
Deep Learning for Finance by Sofien Kaab ...
免费交流----整数分拆书籍
2026年全球投资展望
计算机:英伟达Vera Rubin重构AI存储层级, ...
AI泡沫系列研究之电子行业篇:AI硬件的理性 ...
【24热点,自用整理!】2007-2024上市公司长期 ...
【24更新,热点指标!】2007-2024上市公司数字 ...
2026年Stata初高级寒假班—AI赋能+原理+操作 ...
一文了解11种最常见的机器学习算法应用场景
推荐文章
26年寒假天津站|Gemini论文写作&数据分析 ...
2026JG学术冬训营:从Stata初高到Python机器 ...
关于如何利用文献的若干建议
关于学术研究和论文发表的一些建议
关于科研中如何学习基础知识的一些建议 (一 ...
一个自编的经济学建模小案例 --写给授课本科 ...
AI智能体赋能教学改革: 全国AI教育教学应用 ...
2025中国AIoT产业全景图谱报告-406页
关于文献求助的一些建议
几种免费下载文献的方法----我的文献应助经
说点什么
分享
微信
QQ空间
QQ
微博
扫码加好友,拉您进群
各岗位、行业、专业交流群