全部版块 我的主页
论坛 经济学论坛 三区 宏观经济学
681 0
2024-09-09
  应急管理专利是指针对突发事件的事前预防、‌事发应对、‌事中处置和善后恢复过程中,‌所研发的技术创新成果,‌这些成果以专利的形式获得法律保护。‌这些专利涵盖了从应急管理平台、‌系统到具体应急设备的各个方面,‌旨在提高应急响应速度、‌优化资源配置、‌降低损失,‌并保障公众生命财产安全。‌  
  具体地,应急管理专利分为以下几个类型:基于系统联动的应急管理方法、装置及系统:此类专利通过各个子系统设备采集相关数据,并根据数据和相应场景选择最优化的预应急方案,以提高应急响应的效率和准确度。应急管理智能化管控系统‌:这类专利涉及应急管理技术领域,包括应急管理平台、可视化调度指挥终端等多个组成部分,‌一套完整的系统,以在应急情况时形成立即投入运行,损失降低。事故管理系统‌:集多种通讯方式为一体,‌可与各级事故平台快速对接,‌方便事故管理人员调度部署,‌及时引发突发事件。  

1.时间区间
1986-2023.12.31


2.数据规模
1.png

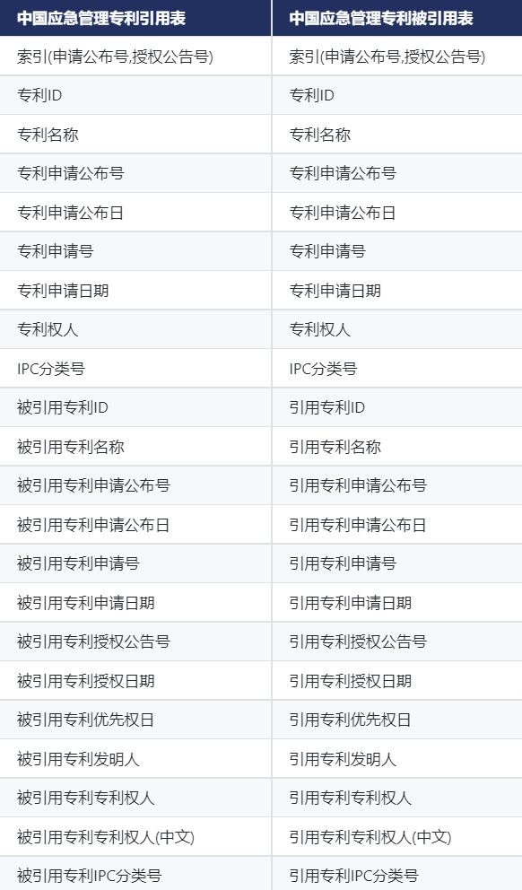
3.字段展示
2.png

4.样本下载(正式数据的一部分)



二维码

扫码加我 拉你入群

请注明:姓名-公司-职位

以便审核进群资格,未注明则拒绝

相关推荐
栏目导航
热门文章
推荐文章

说点什么

分享

扫码加好友,拉您进群
各岗位、行业、专业交流群