全部版块 我的主页
论坛 金融投资论坛 六区 金融学(理论版)
833 2
2019-05-14

壹  次贷危机

2006年11月,中央电视台财经频道播放了一部纪录片《大国崛起》。

那年是中国加入世贸后的第五年,遥望即将到来的历史,中华民族开始为自己成为一个真正的现代强国做思想铺垫,虚心学习世界九个强国的崛起之路。

其实那年中国GDP总规模也才2.7万亿美元,刚刚超过只有6000万人口的英国,排在世界第四位,中国也只是一个以外贸出口为主,苦干实干的初级工业国,2006年,外贸对经济增长贡献率占14.4%,2007年就飙到23.7%,外贸当时就是我们的命根子,而美国是我们的外贸第一大国---当时的美国对我们太重要了,如果在这种对外贸高度依赖的年份遭遇美国的贸易战,后果不堪设想。

640.webp.jpg

那些年,中国年均近10%的增长率傲视全球。

中国已经感觉到后期经济即将疯狂突进,自己就快要回到一线强国之列。

同样在2006年,世界第一的美国经济出现了大问题了。

危机从房地产开始。

我们现在把那次金融危机的导火线,叫次贷危机。

次贷的意思,就是美国有一批去贷款的人,条件不太好,被归类在次级人群,这些人没有很好的还款能力,或者负债较重,条件比较“次”,这种房地产的按揭贷款,被称为次级按揭贷款。

因为借钱给这种人风险高,所以对他们也要收取更高的利率、制定更严格的还款方式。

制度本来没问题,但执行时出了问题。

当时美国人民日子过得太好,房地产和股票一直在涨,大家丧失了警惕,根本人没人鸟那个严格的制度,为了赚钱,大家都当规章不存在,来个人把手一伸,说要贷款就放贷,金融公司还浪出各种“金融创新”,鼓励更多的人来借贷,导致部分债务问题越积越深,纵容次级贷越来越严重。

这些次级贷人群本来经济情况就紧张,欠债比较多,时常发生违约情况,当他们没有钱还贷时,他们会再去别的地方贷款,拆东墙补西墙,类似于用信用卡养信用卡,更严重的甚至把抵押的房子收回来,再卖出去,不亏还赚。

如果信贷一旦卡得很严,房价下降,再去融资或把抵押的房子收回来再卖就很难实现,现金流就会断流,金融风险就会原地爆炸。

从2001年开始,美联储一直在减息,连续13次降低利率,2003年时联邦基金利率降低到了1%,是过去46年最低水平,这么低利率的情况下,钱就不会留在银行,而是会流向股市和房市,寻找更多的利润,房贷利率当时就跟着联邦基金利率一起下调,从8.1%下降到5.8%,美国房地产空前繁荣,大家巴不得你不贷款,审核也就松松垮垮,后面造成的次贷危机,也就是房地产热的副作用(美联储,叫你乱减息!)。

2004年开始,美联储开始加息,联邦基金利率一下又从1%上调到4.25%,房贷利率就跟着一起回升,房价下跌,大家开始慌了,卡次级贷款人的脖子,叫次级贷款人还钱,次级贷款人说我没钱!要命一条,要钱没有!

当时参与美国这场游戏的不仅仅是美国,还有大量来自欧亚包括中国的商业银行和投资银行,都被圈进了美国次级房贷衍生的产品,大家都过于看好美国市场,投入了巨额资金,部分金融机构还悄咪咪地将高风险的按揭贷款打包到证券化产品中,向投资者推销按揭贷款证券,最后使得危机发生时,影响波及到了全球金融系统。

美国在经济繁荣中享受了太长太长的美好时光,根本没有人会想到会产生这么严重的金融冲击(过去76年以来最严重)。

2006年,基金经理迈克尔.柏利最早发现美国次贷危机站在破裂边缘,繁荣的市场掩盖了问题,同样没什么人鸟他,到联邦基金利率上涨到5.25%时,房子抛不出去了,市场终于吃不消,2007年4月新世纪公司破产,2007年8月,危机正式爆发,贝尔斯登、美林证券、汇丰银行等国际金融机构号称损失了数百亿美元,美国住房抵押贷款投资公司破产,贝尔斯登两支基金倒闭,巴黎银行冻结旗下三支基金,花旗银行损失了7亿美元(不过对花旗来说,洒洒水啦,当时花旗一年能盈利200亿美元)。

贰  2008年

很多人并不知道,2008年是当今世界经济格局的分界线。

这年中国发生了两件大事:奥运会、汶川地震。

其实最重要的一件事,是金融危机对中国的影响。

到2008年,次贷危机引发的金融海啸首先冲垮了美国。

美国第五大投行,贝尔斯登公司第一个被拍死,2007年时,贝尔斯登股价最高时到达169美元(这家公司2007年遭遇巨额亏损,但还是将58%的收入拿去发奖金,其中首席执行官凯恩辞职时拿走了4年9360万美元报酬,5位最高领导人8年分走了14亿美金!),2018年2月这家公司的资产表上就只剩367亿美元,比3个月前减少了100亿美元,其中260亿还是次级或者次级抵押贷款证券和担保债务凭证。这时候贝尔斯登公司的客户们要求了解公司财务情况,最大的客户文艺复兴科技还撤回了它所有的业务(跑得及时),2018年3月13日,贝尔斯登通知美国证券委员会它到周五就没法正经运营了(干爹救命),3月14日其股价就暴跌到30美元一股。

贝尔斯登必须在3月16日周日前找到一个买家,否则就要死翘翘了,为了不让美国金融大规模雪崩,美联储根据《联邦储备法案》,以纽约联邦储备银行旁边的一条街道随手命名了一家叫麦登道的公司(好比长沙银行开了家公司叫马栏坡金融),将贝尔斯登价值299.7亿美元的资产收购,将这些资产从贝尔斯登的资产负债表中移除---而最后大摩收购贝尔斯登时,出价仅仅2美元了。

640.webp (1).jpg

贝尔斯登管理人员的基本工资是25万美元,但他们的提成点和股票收益更高,致使公司拼命追逐高杠杆,吸收了大量次贷资产做高数据,美联储主席伯南克认为救助贝尔斯登是一次艰难的决定,因为放任他倒闭将会导致市场崩溃,并将影响到其他公司。

下一个被拍死的,是美国房贷两巨头,房利美和房地美。

到2007年底,房利美和房地美两家公司核心资本合计832亿美元,但支持5.2万亿美元的债务和担保,杠杆率高达62.5倍,次贷危机前,房利美还购买了其他机构发行的MBS(住房抵押贷款证券)1278亿美元,房地美购买MBS2670亿美元,这些资产在危机前属于AAA级优良资产,危机爆发后,其价值雪崩,导致2007年房利美亏损35.6亿美元,房地美亏损30.9亿美元。

到2008年,两家浪过头的公司根本刹不住车,第一季度房利美亏损21.9亿美元,房地美亏损1.5亿美元,7月7日,雷曼兄弟发表分析报告说(哥们你居然还有心情调研别人,下一个就是你了),房利美需要募集460亿美元,房地美需要募集290亿美元,两家才能渡过难关。

雷曼这份报告摧毁了市场信心,两家公司在一周后市值下降了一半。

但雷曼怎么也没想到,最后死得渣都不剩的,只有他自己。

救火队长美联储主席伯南克刚刚把贝尔斯登从死亡线上拉回来,现在鞋子都没穿又冲出来抢着急救房利美和房地美。

7月15日,伯南克率先决定美联储向两家公司开放贴现窗口,可以用两家公司发行的的债券为抵押贴现贷款,也就是说美联储提供的贴现贷款没有上限。同时美国财政部长保尔森向两家公司提供了18个月的临时贷款,并由国会授权美联储加强对两家的监管。

最终,美国政府在9月以监管权的形式接管了两家房贷公司,重组了管理层,撤换了两家的执行总裁。

还在一旁忙着帮别人算遗产的雷曼兄弟公司,却不知道自己死期将至。

雷曼是美国第四大投行,是一家非常牛逼的美国投行,他们的客户名单上个个都是世界一流公司。

但是次贷危机照样摧垮了它,2008年6月雷曼发布财报,他们第二季度亏损了28.7亿美元,是公司上市14年以来第一次亏损,第三季度再接再励,又亏损了39亿美元,把公司140年的品牌历史都亏完了,股价从60美元一路跌到7美元,市值仅剩60亿美元。

总裁富尔德想死的心都有。

已经连救三家公司的伯南克跟保尔森像老母亲一样操碎了心,再也没有精力去救雷曼兄弟了。

两位大佬说,我们做中间人帮你找救星可以,但不要再找我们亲自救场了。



附件列表
640.webp (9).jpg

原图尺寸 224.3 KB

640.webp (9).jpg

640.webp (8).jpg

原图尺寸 117.61 KB

640.webp (8).jpg

640.webp (7).jpg

原图尺寸 121.55 KB

640.webp (7).jpg

640.webp (6).jpg

原图尺寸 118.41 KB

640.webp (6).jpg

640.webp (5).jpg

原图尺寸 117.89 KB

640.webp (5).jpg

640.webp (4).jpg

原图尺寸 120.85 KB

640.webp (4).jpg

640.webp (3).jpg

原图尺寸 120.63 KB

640.webp (3).jpg

640.webp (2).jpg

原图尺寸 117.94 KB

640.webp (2).jpg

二维码

扫码加我 拉你入群

请注明:姓名-公司-职位

以便审核进群资格,未注明则拒绝

全部回复
2019-5-14 09:39:00
两位大佬找来的救星,叫巴菲特。

巴菲特经过两位大佬牵线跟富尔德碰了个头,了解到具体情况后,巴老爷爷同意投资,要求给他40美元一股的优先股,还要分红9%,总价达到40亿美金。

富尔德觉得巴菲特是在给他挖坑,落井下石,因为雷曼兄弟不久前还是66美元一股,他愤怒地拒绝了巴菲特的建议,甚至气咻咻地讲:

Screw Warren Buffett!(去他妈的巴菲特)

富尔德刚出完口恶气,市场就开始做空雷曼,很快雷曼的股价跌到了15美元。

还好当时还有韩国发展银行、美林银行、英国巴莱克银行表示愿意救雷曼兄弟一命。

金融危机中AIG友邦保险也快吃不消了,这家公司关乎着无数美国人的养老金,他们抢先一步联系到了美林银行,跟美林谈好了救市方案,保尔森说救一家是一家,雷曼兄弟你去找剩下两家谈吧。

韩国发展银行给富尔德的开价是20-25美元一股,但要求剥离不良资产,这是个良心价,但富尔德一定要更高的价格,还不能剥离不良资产,韩国人又不傻,不谈了。

只剩巴莱克银行了。

保尔森对雷曼还是很够意思的,他自己包了一架飞机,带了九大银行的CEO跟富尔德在大雨中从华盛顿飞到了纽约,要大家一起帮助雷曼渡过危机,他还很强硬地表示:We will remember anyone who is not helpful(没帮忙的人我会记得的)。九位大佬们一看财政部长这么凶,惹不起惹不起,纷纷愿意拿出现金帮助雷曼担保过关,巴莱克银行也出示了收购方案,正要签定收购协议时,英国金融监管局通知保尔森,经过评估,他们不同意收购雷曼兄弟,这口大锅,他们不背。

保尔森发动自己的人脉去找英国金融监管局再谈谈,但英国人根本不鸟他。

富尔德先生,你的好基友保尔森真的尽力了,认命吧。

2008年9月15日,我还记得那天早上我在深圳宝安的新公司啃油条时,看到新闻里雷曼兄弟破产的消息。

吓得我没吃完的半根油条差点掉在地上。

美国股市吓得比我还严重,投资者赶紧撤资,所有银行突然都资金紧张,大家都紧张兮兮地盯着AIG友邦保险,生怕这家公司跟着再炸一次,再搞美国经济就完了!

保尔森一天到晚都在接救火电话,当时就连通用电气都因为雷曼破产搞得资金周转困难,如果金融界信用度再这样垮下去,大家都跑去银行取款,美国人就要回到1932年经济危机了。

保尔森跟伯南克说:“再这样玩下去整个国家都要完蛋了,我们要说服国会救市,必须要吓得他们屁滚尿流。”

伯南克说:“这个没问题,我自己都快吓出屎了。”

两只老狐狸就跑去国会晓以当前利害,把美国经济即将崩溃的事描述得绘声绘色,听不进去的就去恐吓别人,恐吓不了的就去求别人,为了让民主党众议院老大佩洛西(就是今天这个天天怼特朗普的佩洛西,她又选上了)通过议案,保尔森甚至当众给佩洛西跪下求她。

在两只老狐狸的不懈努力下,美国国会终于通过让财政部给九大投行注资,再通过银行把这些钱贷款出去,给市场注入流动性,让市场恢复生机。

同时,伯南克掌管的美联储开始下调基准利率,从10月开始连续下调三次利率,使利率低至0.25%的历史最低水平。

在美国的推动下,欧洲各国央行早就行动起来,在2008年8月9日、10日、13日分别向银行系统注资了948亿、610亿、476亿欧元,对扩大市场融资来源、缓和融资短缺起到了积极作用。

伯南克和保尔森两人联手,成功将即将发生的金融崩溃卡死在爆炸前。

美国随后启动的量化宽松政策,利用美元世界货币的地位,再次将金融风险转嫁到了全世界(美元特权)。数万亿美元通过各种不同的货币市场交易流出,其中一个重要的操作就是货币互换安排。

这中间,欧洲与中国的受害最深。

2008年10月3日,在保尔森和伯南克的努力下,美国众议院通过了8500亿美元的金融救援计划,这些钱主要来自于大量发行美元跟美国国债,或者扩大军火出口。

2008年7月,美国政府派遣住宅与都市发展部部长杰克逊访问北京,希望中国购买全美抵押协会的证券,在这之前,中国已经是房地美和房利美的最大债权人,持有3760亿美元公司债券,这次访问的结果直没有非常确切的信息,据说杰克逊带走了一大笔钱(不确定,只供参考)。

随后美国又希望中国大量购买美国国债,当时因为金融危机,美国国债有3个月卖不动了,当时外贸是中国的命根,美国倒下对中国并没有益处,而美元还是世界货币---金融危机期间我国沿海企业遭到重击,从2018年第三季度开始,我们经济增长下滑加速,11月和12月,进出口总值出现负增长,珠三角和长三角大批工厂关门,大约2000万外出务工人员提前返乡,为了保证外贸的健康循环,此时保住美国经济,就是保住中国经济的高增长,我们乐意拉美国一把,于是当年我们购买了2000亿美元国债,总计美国国债7274亿美元,超过日本的6260亿美元成为世界第一大美债国。

在美国经济最困难的时候,中国带头出手购买美债,无论于公于私,都已经够意思了。

中国的央行又是跟着美联储出牌的,人民币一直跟着美元跑,在美国量化宽松后,为了同时释放流动性,中国被迫开出了“4万亿”的药方,大搞基建,援救实业,副作用是导致大量资金流进了房地产,中国房价开始飙升。(不要只会骂房地产,要懂得中国房地产高价格形成的特殊原因)

2008年金融危机时,是普通中国人买房的历史最佳黄金时期,房地产公司对现金流饥渴极了,大量低价抛售房屋,等4万亿流入市场后,房地产公司现金流缓和,从此普通中国人买房就变得艰难,房地产公司就此发了十年横财。

大家要注意历史的规律,几乎每一次美联储量化宽松,都是会伴随中国房价上涨一波。

欧洲受害更甚,当时各个破产或接近破产的美国大投行,有近三分之一资产是欧洲的,加上美国量化宽松收割全世界,欧洲从此疲软,再也没爬起来。

看待事物要用更宏大的视野来阅读,不要计较一城一地的得失,现在我们现在来看一组欧洲各国的数据:

我们再看看日韩的数据:

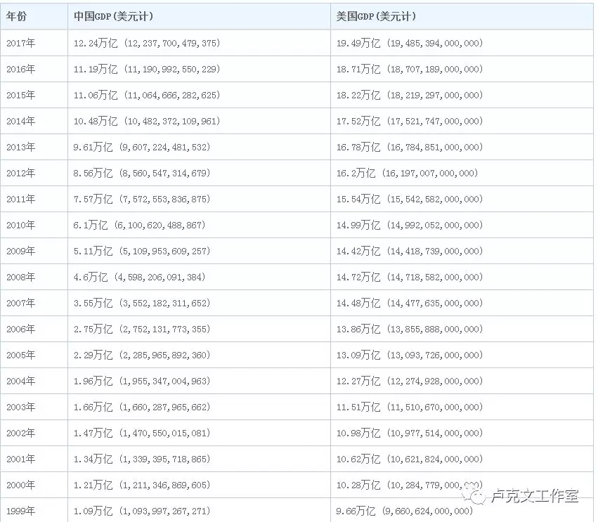
再来对比中美的数据:

发现没有,除了中国,所有国家(包括美国),都在2008年后摔了一个大跟斗,之后只有美国跟韩国两个国家快速回血(韩国真强!),其他所有国家到今天都没有恢复到2008年的元气。

从这一组数据,其实我们应该读出重要信息:

1.当年我们对4万亿破口大骂,对房地产、地方债破口大骂,有没有想过,其实正是当年的正确举措,保住了中国经济的高增长,虽然有副作用,但正面性更大。

2.2008年金融危机一直没有结束,被美国转嫁危机后,世界上大多数国家,其实还在吞咽金融危机的苦果。
二维码

扫码加我 拉你入群

请注明:姓名-公司-职位

以便审核进群资格,未注明则拒绝

2019-5-14 11:44:18
MARK下,仔细品读
二维码

扫码加我 拉你入群

请注明:姓名-公司-职位

以便审核进群资格,未注明则拒绝

栏目导航
热门文章
推荐文章

说点什么

分享

扫码加好友,拉您进群
各岗位、行业、专业交流群