经管之家App
让优质教育人人可得
立即打开
全部版块
我的主页
›
论坛
›
经济学论坛 三区
›
宏观经济学
中国土地权人基本信息扩展数据
楼主
孙潇琦
233
0
收藏
2024-05-17
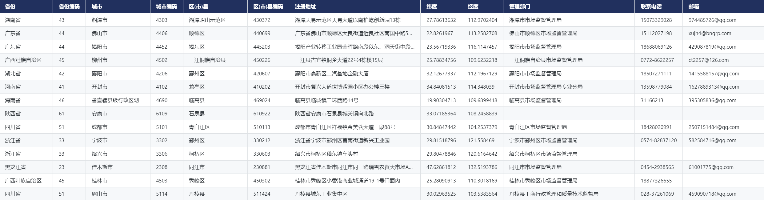
CnOpenData将向土地出让数据中的土地权人名单与中国工商注册企业基本信息数据匹配,得出
中国土地权人基本信息扩展数据
。本数据提供了详细的中国土地权人基本信息扩展数据,如社会信用代码、注册时间、企业性质、所在省市县、行业信息等,为相关研究助力。
1.时间区间
按土地交易时间:1990-2023年
2.字段展示
3.样本展示
4.样本下载(正式数据的一部分)
CnOpenData中国土地权人基本信息扩展数据.zip
大小:(14.86 MB)
马上下载
本附件包括:
CnOpenData中国土地权人基本信息扩展数据-字段表.xlsx
CnOpenData中国土地权人基本信息扩展数据(样本数据).xlsx
CnOpenData数据使用说明.pdf
CnOpenData用户使用手册-2024版.pdf
附件列表
1.png
原图尺寸 35.29 KB
扫码加我 拉你入群
请注明:姓名-公司-职位
以便审核进群资格,未注明则拒绝
栏目导航
宏观经济学
站务与外事
经管文库(原现金交易版)
经管高考
金融实务版
情感交友
热门文章
CDA 数据分析师:线性回归实战指南 —— 从 ...
世界上最简单的会计书(高清pdf版)
同心动力携手山西金控,共筑金融企业“以人 ...
AI应用新范式:从工具革命到“超级OS”的演 ...
R语言实战 机器学习与数据分
R语言预测实战
20XX年扶贫办雨露计划工作方案
如盈财女:10.31黄金短线偏强,上方还有上涨 ...
2018届高考化学基础模块综合检测17
蔡定创教授、李云庆院长致联合国秘书长古特 ...
推荐文章
AI狂潮席卷学术圈,不会编程也能打造专属智 ...
最快1年拿证,学费不足5W!热门美国人工智能 ...
关于如何利用文献的若干建议
关于学术研究和论文发表的一些建议
关于科研中如何学习基础知识的一些建议 (一 ...
一个自编的经济学建模小案例 --写给授课本科 ...
AI智能体赋能教学改革: 全国AI教育教学应用 ...
2025中国AIoT产业全景图谱报告-406页
关于文献求助的一些建议
几种免费下载文献的方法----我的文献应助经
说点什么
分享
微信
QQ空间
QQ
微博
扫码加好友,拉您进群
各岗位、行业、专业交流群