全部版块 我的主页
论坛 休闲区 十二区 休闲灌水
770 0
2018-09-21

今天的创新也许已经不一样了,但不变的是依然生机盎然。以下是塑造了现代世界的15项专利。

1、磁悬浮(磁悬浮列车)

15.webp.jpg

专利名称:“地面车辆的电磁感应悬浮与稳定系统”

磁悬浮列车的故事始于Eric Laithwaite和他的全尺寸线性感应电动机上面的工作。发明者意识到不需要跟铁轨接触的直线电机可以用来开发一套基于磁场的交通系统。Laithwaite测试了可利用磁场实现向上和向前推力的线型感应电机。

Laithwaite的工作受到了广泛研究,1967年,布鲁克黑文国家实验室的James Powell和Gordon Danby拿到了磁悬浮列车的第一份专利。他们的设计是想利用超导电磁铁来产生“悬浮力,让列车漂浮在地面上,”并且用“推进器、气流或者火箭”获得推力。

当Laithwaite线性感应电机的工作跟Powell与Danby的漂浮火车设计结合到一起时,第一辆商用磁悬浮列车就诞生了。1995年,英国开放了一条磁悬浮穿梭线路,德国人后来建造和测试了若干原型最后做出了Transrapid(磁悬浮列车)。上海的一辆由德国开发的磁悬浮列车是在运行的最快的商用列车,最高运营速度达到了270迈(435公里/小时),而日本的L0系列磁悬浮列车原型以375迈(603公里/小时)的速度创造了速度记录。在将来,超级高铁系统可以利用类似的技术在真空蜜蜂管内让客舱漂浮起来并对其进行加速,其最高时速有可能达到750迈(1207公里/小时)。

2、iPhone手机

14.webp.jpg

专利名称:“电子设备”

这个21世纪标志性设备的专利几乎告诉了你有关它的一切。总体来看,苹果的为原创iPhone申请的专利只是把它叫做“电子设备”,只是说这是“一种电子设备的装饰设计,参见图示和描述。”文档然后标记了该“电子设备”的8个数字,只是告诉你它是从哪个方向显示的,然后再引用相关专利和文档。

尽管iPhone不是第一款智能手机也不是第一款连接上互联网的手机,但它的基本设计成功变革了很多人每天都要使用的设备的外观和功能。iPhone更像是手持计算机而不是电话,它以及“电子设备”的后续改进已经影响了人类沟通、浏览甚至思考的方式。

3、机动化的外骨骼

13.webp.jpg

专利名称:“运动辅助装置与手段”

外骨骼有着很长的历史,可以追溯到1890年由Nicholas Yagin发明的“促进走路的装置”。非机动的外骨骼用压缩气体存储能量并帮助运动。

在1960年代,美国军方推出了一个带动力的外骨骼项目叫做Hardiman,由通用电气开发。这个大型的机械套装旨在放大士兵的力量以便能举起1500磅的重量,但是满功率的时候外骨骼会受到猛烈的不受控运动之苦,所以从未在人类身上测试过。

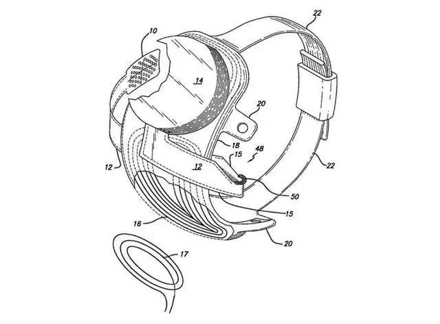
技术不断改进,各种公司都对外骨骼进行投资,目的是想帮助不同程度麻痹症患者或者辅助工人的现场工作。持有这项2014年有动力外骨骼专利的ReWalk,开发了一种用于康复中心的外骨骼,可以让患有下肢瘫痪的病人学会坐、立、走甚至爬楼梯。MIT和欧洲太空总署也在设计类似装置。未来的建筑工人、士兵,甚至宇航员都有可能用上外骨骼套装。

4、四轴无人机

12.webp.jpg

专利名称:“全向直升式无人直升机”

今天在公园上空嗡嗡作响,对飞机造成干扰的四轴无人机其实早在1962年就申请了专利。Piasecki Aircraft Corporation的工程师Edward G. Vanderlip最先设计了让直升机仪器在动力失效的情况下仍能继续工作的手段。

Vanderlip然后产生了将飞行员友好飞行系统吸收进远程遥控的螺旋桨飞行器的想法。他的“全向、直升式直升无人机”大概描述了一个飞行“极其简单”的UAV。该无人机设计有“4个成对安排在对端的升力旋翼”所以俯仰的垂直轴总是垂直于地面的。这使得飞行器可以倾斜旋翼以任意方向飞行同时还能保持水平平台。

等到飞行控制以及诸如相机和GPS导航等电子系统跟进了Vanderlip的想法,四轴无人机终于可以成群结队地在蓝天上翱翔了。

5、3D打印机

11.webp.jpg

专利名称:“通过立体平版印刷制作3维物体的装置”

1986年颁布的这项3D打印机专利领先于它的时代。文档概述了大多数3D打印机使用的基本技术:立体平版印刷,或者树脂的光固化。一个活动平台接受计算机的输入然后将基座放置在一个喷嘴下方。喷嘴的液体树脂一层层地形成物体,再由紫外光来固化。

随着计算技术的进步,3D打印的真正价值变得很明显。有了像激光金属烧结这样的金属印刷方法,制造商现在开始印刷诸如桥梁及火箭发动机这样雄心勃勃的建筑物。

6、仿生眼球

10.webp.jpg

专利名称:“视网膜假体及制造视网膜假体的方法”

为盲人恢复视力的第一次尝试是在1968年,当时G. S. Brindley和W. S. Lewin两位医生给一位52岁的病人手术植入了一个设备。这个电子设备不是植入到病人的眼睛里面,而是他大脑的视神经叶上。通过模拟大脑的神经元,医生让病人能看到他一半视野内的光点。

今天,由于有了小很多的电子器件,视力恢复设备已经可以直接植入到视网膜里面,就像2013年的这项专利所描述那样。往往安装到太阳镜上的摄像头被用于捕捉周围区域的数据然后发送信号给视网膜植入物,后者再刺激眼球中的光感受器。完全失明的病人可以使用这一技术爱恢复部分视力,包括可以看清形状和光的能力。随着电极不断缩小,使得更特殊的光感受器受到刺激,这项技术只会变得越来越好。

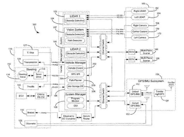
7、全球定位系统

9.webp.jpg

专利名称:“利用卫星和被动测距技术的导航系统”

GPS卫星是由美国海军发明的,今天则是由美国空军运营。Roger L. Easton是全球定位系统的幕后策划者,1950年代为美国海军研究实验室开发了跟踪在轨美国卫星以及随后的苏联卫星的技术。1959年,Easton开发了海军太空监视系统——这是跟踪美国上空所有在轨对象的第一张雷达网络。

在随后的几十年里,Easton改变了技术方向,换成从太空跟踪地面对象。这项1974年授予他的专利描述了通过卫星导航的方法。像TIMATION I和II这样的行动发射的高精度时钟改善了这项技术,并且修正了狭义相对论导致的错误。1977年,Navigation Technology Satellite 2发送了第一条GPS数据。

这项技术在好几年的时间内仅限于军用,在第一次海湾战争(有时候也被称为“第一次太空战”)中,美国利用GPS卫星在科威特和伊拉克沙漠中导航。1995年,GPS实现了24颗卫星的全面运转,今天,Google Maps几乎从来都不会失去卫星连接。

8、CRISPR基因编辑

8.webp.jpg

专利名称:“用于改变基因产物表达的CRISPR-Cas系统和方法”

CRISPR-Cas9是加州大学伯克利分校开发的一种基因编辑工具,用于修改单细胞的生物体。这项技术随后又被哈佛大学和MIT合作的非盈利组织Broad Institute(布罗德研究所)改进,用到了多细胞生物体上,就像这项2014年的专利所概述那样。今天,CRISPR被用于修改作物和家畜,以及治疗患白血病等疾病的人类病人。

CRISPR-Cas9分为3个部分:定位生物体DNA正确片段的RNA链,切断该DNA片段的Cas9酶,以及替换被删除片段的可选DNA链。

CRISPR可被注入到胚胎内或者引入到免疫系统细胞等细胞内然后再给病人注射。基因工程的可能性刚刚开始成形,治疗各种疾病的药物和手段正在慢慢浮出水面。

9、大脑植入物

7.webp.jpg

专利名称:“3维电极设备”

十九世纪末,医生意识到大脑电刺激会导致人类和动物发生身体运动。在20世纪,大脑刺激实验成功地改变了病人的情绪和行为。

犹他大学 1993年的这项专利概括所谓的“犹他阵列(Utah Array)”,并在随后的一项专利中描述为“用许多金属针跟大脑接触用于侦测电信号或者传输信号给大脑的可植入集成装置。”

从此以后,大脑植入物已经发展到可以移动机械假肢器官或者通过思考在计算机输入文字的程度。在未来,像神经织网这样覆盖大量神经元的的技术可用于让人通过思想与计算机交互。

10、石墨烯

6.webp.jpg

专利名称:“纳米级石墨烯板”

我们可能正在步入石墨烯时代。这种由碳分子通过蜂窝结构排列出来的二维复合材料出奇的轻,当时强度却被类似厚度的钢高200多倍,并且有着很强的耐热性和导电性。这些属性使得石墨烯和类似的碳复合材料非常适合于计算机芯片、机翼以及众多其他应用。

石墨烯由大块石墨制成,后面的这玩意儿你可以在铅笔上找到。然而,将只有一个原子厚度的一层碳分子隔离出来是极其具有挑战性的。直到2004年才由曼彻斯特大学的Andre Geim和Konstantin Novoselov利用胶带,也就是所谓的“透明胶带法”提炼出一层原子厚度的石墨烯晶体。“因为二维材料石墨烯的突破性实验”,这项工作在2010年为他们赢得了诺贝尔物理奖。 后续又发明看新的创新性的析取材料方法,比如2006年的这项专利就是利用片状剥落技术创造石墨烯。


附件列表
5.webp.jpg

原图尺寸 70.45 KB

5.webp.jpg

4.webp.jpg

原图尺寸 124.54 KB

4.webp.jpg

3.webp.jpg

原图尺寸 46.2 KB

3.webp.jpg

2.webp.jpg

原图尺寸 52.31 KB

2.webp.jpg

1.webp.jpg

原图尺寸 52.35 KB

1.webp.jpg

二维码

扫码加我 拉你入群

请注明:姓名-公司-职位

以便审核进群资格,未注明则拒绝

栏目导航
热门文章
推荐文章

说点什么

分享

扫码加好友,拉您进群
各岗位、行业、专业交流群